6.1 Грузы цилиндрической формы (например, металлические барабаны, бидоны, рулоны металлической ленты) размещают в контейнерах в вертикальном положении в 1-3 яруса по высоте (рисунок 8).
Каждую единицу груза нижнего яруса располагают на двух деревянных подкладках 2 сечением не менее 40х100 мм, уложенных вдоль контейнера. Подкладки могут быть сплошными по всей длине контейнера или состоять из нескольких частей.

Рисунок 8
1 — щит; 2 — подкладка; 3 — вертикальная прокладка; 4 — прокладка между грузами нижнего и верхнего яруса
Торцовую стенку контейнера ограждают по высоте погрузки щитом 1 в соответствии с пунктом 2.6 настоящей главы.
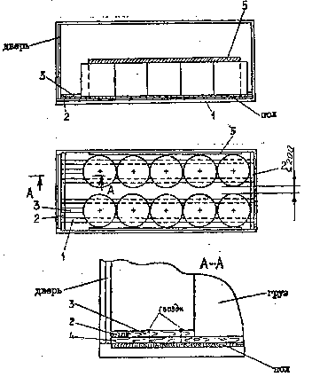
6.2 Рулоны широкой металлической ленты и других грузов цилиндрической формы в металлической упаковке массой одного «места» до 1 т включительно грузят в один ярус по высоте с установкой каждого «места» на две продольных подкладки 1, указанных выше размеров (рисунок 9).
Вплотную к торцовой стенке сверху на концы подкладок помещают упорный брусок 2 толщиной 50 мм, шириной не менее 150 мм и длиной по ширине контейнера. Допускается использование брусков, составленных из двух частей по толщине, скрепленных между собой четырьмя гвоздями длиной от 60 до 70 мм включительно. Прошедшие насквозь концы гвоздей должны быть загнуты.

Рисунок 9
1- подкладка; 2- упорный брусок; 3- распорный брусок; 4- подкладка под распорным бруском; 5- пристенная прокладка (условно заштрихована)
Продолжение инструкции: