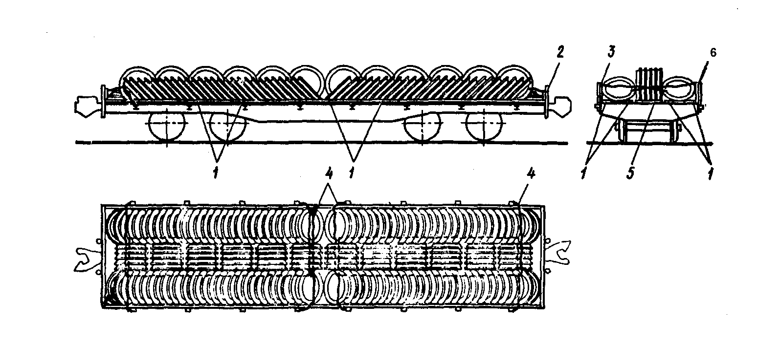
9.1 Бандажи размещают на платформе следующим образом (рисунок 113).
При ширине бандажей не более 135 мм у торцового борта платформы в каждом ряду размещают плашмя друг на друга по три бандажа, которые в двух местах связывают проволокой диаметром 6 мм в две нити; два нижних бандажа размещают гребнями вниз, а третий (верхний) — с некоторым смещением к середине платформы; четвертый бандаж устанавливают наклонно под углом не более 45о к полу платформы с опорой на уложенные плашмя бандажи. Все остальные бандажи размещают также наклонно до середины платформы. Таким же способом размещают бандажи от противоположного торцового борта до середины платформы.

Рисунок 113
1 — бруски; 2 — торцовые стойки; 3 — распорные бруски;
4 – увязка бандажей; 5 — поперечный брусок; 6 — короткие стойки
Соседние ряды бандажей должны укладываться вплотную друг к другу без зазоров между ними.
При ширине бандажей более 135 мм у торцовых бортов платформы в каждом ряду размещают плашмя по два бандажа, в остальном бандажи размещают так же, как указано выше.
Наклонно бандажи размещают в несколько продольных рядов с одинаковыми промежутками между ними, а крайние ряды бандажей устанавливают к боковым бортам платформы. Между наклонными рядами бандажей на пол платформы размещают бандажи в вертикальном положении кругами катания вдоль платформы.
Каждый ряд наклонно размещенных бандажей ограждают брусками 1 сечением не менее 50х100 мм, которые размещают вдоль платформы вплотную к бандажам. Допускается применение брусков, составленных по длине из отдельных частей длиной не менее 2000 мм. Каждый брусок крепят к полу платформы четырьмя гвоздями длиной 100 мм.
В боковые и торцовые стоечные скобы устанавливают короткие стойки. Против стоек между бортами и продольными брусками плотно пригоняют по месту деревянные распорные бруски 3 толщиной не менее 35 мм, которые крепят гвоздями длиной не менее 85 мм.
Со стороны торцовых бортов, и в середине платформы вплотную к вертикально расположенным бандажам размещают поперечные бруски 5 сечением не менее 50х100 мм и длиной по месту. Между поперечными брусками 1 в середине платформы, а также между крайними брусками и торцовыми бортами (у торцовых стоек) плотно пригоняют по два деревянных распорных бруска 2 сечением не менее 50х100 мм (рисунок 114). Каждый поперечный и распорный брусок должны быть прибиты к полу двумя гвоздями длиной не менее 100 мм.

Рисунок 114
1 — поперечный брусок; 2 — распорные бруски; 3 — торцовые стойки;
4 — увязка крайних бандажей со стороны концевой балки;
5 — увязка вертикально установленных бандажей; 6 — боковые стойки
В двух крайних рядах каждый полуряд наклонно уложенных бандажей увязывают проволокой диаметром 6 мм в две нити, которую пропускают через отверстия бандажей и закрепляют за стоечные скобы. Концы одной из увязок закрепляют за стоечные скобы на одной боковой стороне платформы, концы другой увязки — на другой. Бандажи, размещенные вертикально вдоль платформы, взаимно увязывают во всех местах соприкосновения их друг с другом гребнями и поверхностями катания. Ближайшие к торцовым бортам платформы бандажи (из числа размещенных вертикально) увязывают за кронштейны на концевых балках рамы (рисунок 114).
Бандажи, размещенные вертикально, увязывают проволокой диаметром 6 мм в четыре нити. В местах перегиба проволоки во избежание перетирания ее бандажами применяют подкладки из листового металла толщиной от 1 до 2 мм включительно.
9.2 Колеса и бандажи размещают в полувагоне тремя продольными рядами (рисунок 115). При этом в крайних рядах колеса и бандажи размещают поперек вагона вплотную к боковым бортам, а в среднем — вдоль полувагона.

Рисунок 115
1 – торцовый щит
Средний ряд состоит из секций по четыре колеса, которые размещают вплотную к торцовым дверям полувагона, которые ограждают щитами (рисунок 1). Гребни одной секции колес направлены в одну сторону, а гребни следующей секции — в противоположную.
Колеса в крайних рядах размещают наклонно, причем первые колеса размещают плашмя, а следующие с постепенным подъемом колес до 85о, и замыкают четырьмя-пятью колесами под углом 45о.
В крайние секции из четырех колес среднего ряда вставляют в отверстия ступиц стойки диаметром от 150 до 160 мм включительно и длиной 1000 мм.
Люковые закидки полувагонов увязывают в соответствии с 1.5 настоящей главы.
