-
Размещение и крепление круглых лесоматериалов
-
Размещение и крепление непакетированных круглых лесоматериалов длиной
-
более 3,0 м
-
Формирование штабелей из таких лесоматериалов, применение и установка подкладок, прокладок и ограждающих стоек осуществляются в соответствии с требованиями раздела 1 настоящей главы. Круглые лесоматериалы в штабеле располагают комлями в противоположные стороны приблизительно в равных количествах. Удлиненные прокладки должны опираться на 2 – 3 круглых лесоматериала, расположенные в средней части яруса, и на круглые лесоматериалы, прилегающие к ограждающим стойкам. Крайние круглые лесоматериалы в ярусе, размещенном на прокладках, должны прилегать к стойкам. При размещении лесоматериалов в полувагоне с выходом за пределы концевых балок наружные концы крайних штабелей укладывают на торцовые порожки полувагона; в этом случае утолщенные подкладки и прокладки не применяют.
-
Количество штабелей из лесоматериалов в полувагоне в зависимости от их длины, а также соответствующее количество пар стоек, ограждающих каждый штабель, приведено в таблице 2.
Таблица 2
|
Длина лесоматериала, м |
Количество штабелей |
Количество пар стоек |
Номер рисунка |
|
До 3,5 включительно |
4 3 |
2 |
4 5 |
|
Свыше 3,5 до 4,25 включительно |
3 |
крайние штабели – 3 средний штабель – 2 |
6 |
|
Свыше 4,25 до 5,5 включительно |
2 |
3 |
7 |
|
Свыше 5,5 |
2 |
4 |
8 |

Рисунок 4
1 – шестизвенная стяжка; 2 – удлиненная прокладка; 3 – стойка; 4 – скрепление стоек; 5 – подкладка; 6 – средняя увязка «шапки»

Рисунок 5
1 – шестизвенная стяжка; 2 – удлиненная прокладка; 3 – стойка; 4 – скрепление стоек; 5 – утолщенная подкладка; 6 – средняя увязка «шапки»

Рисунок 6
1 – шестизвенная стяжка; 2 – удлиненная прокладка; 3 – стойка; 4 – скрепление стоек; 5 – утолщенная подкладка; 6 – средняя увязка «шапки»

Рисунок 7
1 – шестизвенная стяжка; 2 – удлиненная прокладка; 3 – стойка; 4 – скрепление стоек; 5 – утолщенная подкладка; 6 – средняя увязка «шапки»

Рисунок 8
1 – шестизвенная стяжка; 2 – удлиненная прокладка; 3 – стойка; 4 – скрепление стоек; 5 – подкладка; 6 – средняя увязка «шапки»
При ограждении каждого штабеля тремя парами стоек две из них устанавливают по концам штабеля, а третью – в одну из лесных скоб в середине штабеля.
-
Формирование прямоугольной части штабеля производят до уровня ниже верхнего обреза стоек на величину средней толщины круглых лесоматериалов в штабеле.
Формирование «шапки» производят следующим образом. На круглые лесоматериалы верхнего яруса прямоугольной части штабеля на расстоянии от 0,3 до 0,5м включительно от его концов располагают две удлиненные прокладки так, чтобы концы их выступали с обеих сторон на величину от 75 до 100 мм (рисунок 9).

Рисунок 9
1 – стойка; 2 – удлиненная прокладка; 3 – многооборотная шестизвенная стяжка
На удлиненных прокладках, на расстоянии не менее 50 мм от их торцов, должны быть выполнены зарубки глубиной от 10 до 15 мм. Увязку лесоматериалов в «шапке» выполняют с использованием многооборотных шестизвенных стяжек (рисунок 2) следующим образом. Большое ушко стяжки заводят на зарубки удлиненной прокладки и фиксируют на ней двумя гвоздями длиной от 70 до 80 мм включительно либо проволокой диаметром не менее 3 мм. Малое ушко закрепляют к другому концу прокладки стяжкой из проволоки диаметром 6 мм в две нити, при этом должны быть выполнены два оборота проволоки вокруг прокладки.
Вместо многооборотных шестизвенных стяжек допускается для скрепления «шапки» устанавливать поперечные увязки из проволоки диаметром 6 мм в две нити. Увязки закрепляют за выступающие концы удлиненных прокладок, при этом должны быть выполнены два оборота проволоки вокруг прокладки по зарубкам.
В середине штабеля между удлиненными прокладками поперек штабеля укладывают две скрученные между собой нити проволоки диаметром 6 мм средней увязки, длиной, достаточной для последующего формирования средней увязки «шапки» (рисунки 4-8).
При формировании «шапки» должны соблюдаться требования пункта 1.3 настоящей главы, а также следующие дополнительные условия:
-
толщина круглых лесоматериалов в «шапке» должна быть не более 300 мм;
-
укладка круглых лесоматериалов в первом ярусе «шапки» между стойками должна быть без зазоров между бревнами и стойками. Возвышение примыкающих к стойкам круглых лесоматериалов над стойками не должно превышать 1/4 толщины этих круглых лесоматериалов;
-
круглые лесоматериалы каждого яруса размещают во впадинах между соседними круглыми лесоматериалами нижележащего яруса;
-
крайние круглые лесоматериалы ярусов «шапки» подбирают таким образом, чтобы толщина вышележащих круглых лесоматериалов не превышала толщины нижележащих круглых лесоматериалов;
-
при размещении в пределах основного габарита погрузки угол откосов «шапки» (угол наклона к горизонту общей касательной к любым двум из крайних круглых лесоматериалов), должен быть не более 50о.
-
При погрузке круглых лесоматериалов в полувагоны допускается формировать прямоугольную часть штабелей без применения прокладок (рисунок 10) при наличии согласия грузополучателя на такую отгрузку. В накладной в графе «Особые заявления и отметки отправителя» грузоотправитель должен сделать отметку с указанием вида и номера документа о согласии.

Рисунок 10
-
боковая стойка; 2- скрепление стоек; 3- увязки «шапки»
При формировании прямоугольной части штабеля без удлиненных прокладок скрепление боковых стоек многооборотными четырех- и шестизвенными стяжками не допускается. Скрепление должно производиться исключительно проволочными стяжками. Скрепление «шапки» производится тремя проволочными увязками в порядке аналогичном изложенному в подпункте 2.1.3 настоящей главы, при этом две крайние увязки располагают на расстоянии от 500 до 800 мм от концов штабеля, третью увязку – посередине его длины.
-
Свежеокоренные лесоматериалы, а также лесоматериалы с невысохшим покрытием (пропиткой) формируют в штабелитолько в пределах прямоугольной части габаритов погрузки (до высоты 4000 мм от УГР) и перевозятв полувагонах с закрытыми дверями.
Для ограждения прямоугольных частей штабелей применяют торцовые щиты (рисунок 11).

Рисунок 11 – Торцовый щит:
а) на двух стойках; б) на трех стойках
1 – стойка; 2 – доска; 3 – перекладина; 4 – связь
Щит изготавливают из стоек, аналогичных боковым стойкам, и досок сечением не менее 40х150 мм или горбылей сечением не менее 50х200 мм и длиной, равной внутренней ширине полувагона.
Доски 2 закрепляют к стойкам 1 гвоздями длиной не менее 120 мм. Допускается взамен досок использовать жерди толщиной от 60 до 80 мм, затесанные в местах соприкосновения со стойками. Зазоры между досками (жердями) должны быть не более половины их ширины (толщины). Высота h (рисунок 11) до нижней доски щита должна быть меньше высоты верхней обвязки полувагона на величину от 350 до 400 мм. На расстоянии от 100 до 150 мм от верха стоек к ним со стороны, противоположной доскам, закрепляют перекладину 3 из круглого подтоварника (бревно толщиной 130 мм и менее) толщиной не менее 100 мм длиной, равной длине досок. Перекладину закрепляют гвоздями длиной не менее 150 мм, по два в каждое соединение, и увязками из проволоки диаметром не менее 6 мм в две нити. На перекладине на расстоянии от 80 до 100 мм включительно от ее концов выполняют зарубки глубиной от 15 до 20 мм включительно для закрепления растяжек. В нижней части стойки скрепляют связью 4 из доски, аналогичной доскам щита.
Собранный щит закрепляют двумя растяжками 2 из проволоки диаметром 6 мм в две нити за концы перекладины и за вторые от щита верхние увязочные устройства полувагона (рисунок 12а) либо двумя досками сечением не менее 30х100 мм, которые закрепляют к крайним стойкам щита и соседним стойкам вагона гвоздями длиной не менее 100 мм по три шт. в каждое соединение (рисунок 12б).

Рисунок 12 –Установка торцовых щитов в полувагоне:
а) крепление щита растяжками; б) крепление щита досками; в) установка щита при наличии зазора
1 – щит; 2 – растяжка; 3 – скрепляющие доски
В случаях, когда суммарная длина штабелей меньше внутренней длины полувагона более чем на 500 мм, один из торцовых щитов устанавливают вплотную к дверям, второй – вплотную к торцу последнего штабеля; зазор между этим щитом и дверями полувагона заполняют лесоматериалом, располагаемым горизонтально поперек полувагона до уровня ниже верхней обвязки полувагона на величину от 100 до 150 мм (рисунок 12в).
-
Размещение и крепление непакетированных круглых лесоматериалов длиной до 3,0 м включительно
Непакетированные круглые лесоматериалы длиной до 3,0м включительно размещают в полувагонах только в пределах основного габарита погрузки.
-
Размещение круглых лесоматериалов длиной от 1,8 до 3,0 м включительно производят с применением торцовых щитов (рисунок 13).

Рисунок 13
1 – стойка; 2 – доска; 3 – перекладина; 4 – связь
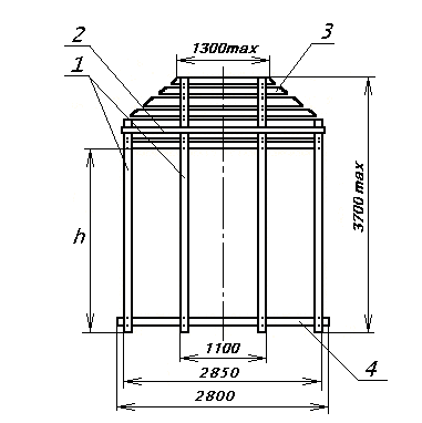
Торцовый щит изготавливают с использованием четырех стоек. Длина средних стоек должна быть не более 3700 мм. Другие требования к изготовлению и установке торцовых щитов аналогичны требованиям, изложенным в подпункте 2.1.5 настоящей главы.
Формирование и крепление штабелей выполняются в соответствии с требованиями пункта 2.1 настоящей главы. При этом должны соблюдаться следующие особенности (рисунок 14):
-
«шапки» крайних штабелей должны быть расположены таким образом, чтобы удлиненные прокладки находились по отношению к ближайшим боковым стойкам со стороны середины полувагона;
-
при погрузке круглых лесоматериалов длиной от 1,8 до 2,5 м включительно соседние удлиненные прокладки двух крайних штабелей с каждой стороны вагона должны быть скреплены между собой увязкой из проволоки диаметром 6 мм в четыре нити.

Рисунок 14
1 – торцовый щит; 2 – удлиненная прокладка; 3 – стойка; 4 – скрепление стоек; 5 – увязка удлиненных прокладок
Допускается штабели лесоматериалов длиной свыше 2,5 до 3 м включительно формировать без укладки удлиненных прокладок под «шапку» при соблюдении условий и требований подпункта 2.1.4 настоящей главы.
Допускается размещение лесоматериалов длиной свыше 1,6 до 1,8 м с применением торцовых щитов и устройством ограждения боковых стен полувагона (рисунок 15) в следующем порядке.

Рисунок 15
1 – круглый лесоматериал ограждения стен; 2 – прокладка; 3 – удлиненная прокладка; 4 – утолщенная прокладка; 5 – торцовый щит; 6 – лесоматериал
Двери полувагона ограждают торцовыми щитами (рисунок 13). Ограждение боковых стен выполняют из круглых лесоматериалов 1, которые устанавливают вертикально в один ряд вплотную друг к другу. Круглые лесоматериалы, установленные у лесных скоб, закрепляют к ним увязками из проволоки диаметром 6 мм в две нити. В местах предполагаемого размещения удлиненных прокладок 3 круглые лесоматериалы ограждения не устанавливают. Прямоугольную часть штабеля формируют таким образом, чтобы ее высота была меньше высоты ограждения на величину от 250 до 300 мм, и разделяют по высоте на 2 – 3 части прокладками 2, 4. Зазор между щитами и дверями полувагона заполняют лесоматериалом, располагаемым горизонтально поперек полувагона до уровняниже верхней обвязки полувагонана величину от 100 до 150 мм.
Продолжение инструкции: