Стрелочные переводы марок 1/9 и 1/11 (типы рельсов Р43, Р50, Р65, Р75) в разобранном виде, комплектами с рамными рельсами длиной 12500 мм размещают на платформе (рисунок 118) следующим способом. Крестовины перевозят в собранном виде. Остряки стрелок скрепляют с рамными рельсами у пера и посередине длины обвязкой из проволоки диаметром 6 мм в один оборот. У стрелок лафетного типа рамные рельсы и остряки со всеми относящимися к ним деталями должны быть смонтированы на лафетных листах.

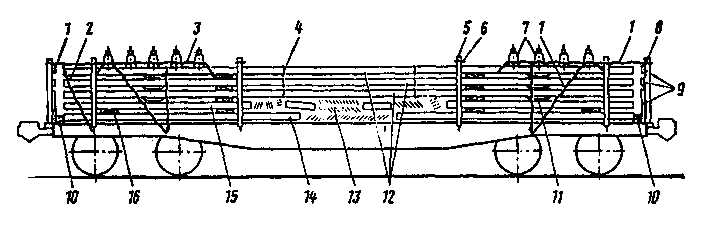
Рисунок 118
1 — растяжки торцовых стоек; 2 — увязка рамных рельсов; 3 — крепление переводных механизмов; 4 — крепление остряков; 5 — боковые стойки; 6 — скрепление стоек; 7 — переводные механизмы, установленные в пятом ярусе; 8 — торцовые стойки; 9 — доски торцового ограждения; 10 — предохранительный брусок; 11 — прокладки толщиной 25 мм; 12 — рамные рельсы с остряками и корневыми мостиками, уложенными в третьем, четвертом и пятом ярусах; 13 — стрелочные подушки, мостики крестовые и путевые подкладки; 14 — крестовины, уложенные в первом ярусе; 15 — контррельсы, уложенные во втором ярусе; 16 – прокладки
Стрелочные переводы размещают вплотную к торцовым бортам платформы на подкладки сечением не менее 50х150 мм и длиной 2700 мм или аналогичной длины горбыли толщиной не менее 50 мм. На пол платформы вплотную к доскам или горбылям размещают двумя группами в равных количествах (или с разницей на одну крестовину) крестовины головками вверх с чередованием концов.
Поверх каждой группы крестовин устанавливают по две прокладки из досок сечением не менее 25х150 мм и длиной 2700 мм или горбылей толщиной не менее 25 мм. На эти прокладки (во втором ярусе погрузки) вплотную к торцовым бортам платформы размещают контррельсы. Прокладки должны быть расположены на расстоянии от 800 до 1000 мм включительно от концов контррельсов.
Контррельсы грузят сболченными попарно с вкладышами и деталями, уложенными между ними, упорами с прикрепленными болтами. Допускается также грузить одиночные контррельсы с вкладышами и упорами с прикрепленными к ним болтами. В обоих случаях контррельсы необходимо укладывать на подошву.
При погрузке сболченных попарно контррельсов смежные пары контррельсов должны быть сдвинуты по длине одна относительно другой так, чтобы упоры одной пары заходили за упоры соседней пары. Одиночные контррельсы размещают таким же способом. Вкладыши или упоры соседних контррельсов должны заходить друг за друга. Стрелочные подушки, мостики крестовины, стандартные путевые подкладки в связках и другие мелкие детали стрелочных переводов размещают на пол платформы и крестовины в свободной средней части платформы после погрузки крестовин и контррельсов.
Рамные рельсы (с остряками) безлафетных стрелочных переводов можно грузить двумя способами. При применении обоих способов погрузки каждый ярус рамных рельсов укладывают на четыре подкладки.
При погрузке рамных рельсов по первому способу две прокладки толщиной не менее 25 мм устанавливают под корневыми мостиками, а две другие (средние) прокладки толщиной не менее 50 мм — под рамными рельсами у перьев остряков. Прокладки должны иметь ширину не менее 150 мм и длину 2700 мм. Прокладки размещают одну над другой.
Рамные рельсы (с остряками) в третьем, четвертом и пятом ярусах размещают головками вверх один над другим. Перья остряков у соседних рамных рельсов, находящихся в одном ярусе, должны быть направлены в противоположные стороны. Перья остряков рамных рельсов, расположенных один над другим в указанных трех ярусах погрузки, должны быть обращены в одну сторону.
В третьем ярусе на прокладки размещают восемь рамных рельсов (с остряками). При погрузке 9-11 комплектов безлафетных стрелочных переводов в четвертом ярусе укладывают восемь рамных рельсов аналогично третьему. Оставшиеся рамные рельсы в равных количествах располагают на боковых сторонах пятого яруса погрузки с оставлением его середины свободной.
Восемь комплектов безлафетных стрелочных переводов в четвертом и пятом ярусах размещают по четыре рамных рельса, которые должны быть размещены, как и в предыдущем случае, в равных количествах на боковых сторонах этих ярусов погрузки.
При погрузке рамных рельсов по второму способу все перья остряков, находящиеся в одном ярусе, должны быть обращены в одну сторону. В смежных ярусах погрузки перья остряков направляют в противоположные стороны. При этом в каждом ярусе погрузки под корневыми мостиками устанавливают прокладки толщиной 250 мм, а под рамными рельсами и остряками — по три прокладки толщиной 50 мм на равных расстояниях.
Каждый ярус лафетных листов (при погрузке лафетных стрелочных переводов) со смонтированными на них рамными рельсами и остряками размещают на четыре прокладки шириной не менее 150 мм и длиной 2700 мм. Две прокладки толщиной 25 мм устанавливают против вторых стоечных скоб, считая от торцовых бортов платформы. Две другие прокладки толщиной 50 мм устанавливают вплотную к торцовым кромкам лафетных листов, обращенных к торцовым бортам платформы. В третьем и четвертом ярусах погрузки укладывают по пять лафетных листов (с рамными рельсами и остряками), в пятом ярусе — четыре-пять, в шестом ярусе два — пять лафетных листов.
Если необходимо грузить переводные механизмы, то для их размещения оставляют свободное пространство в средней части пятого и шестого ярусов.
Ручные переводные механизмы размещают в верхней части штабеля между рамными рельсами одной или двумя группами.
В торцовые скобы платформы устанавливают стойки. Расстояние от верхних рамных рельсов до верхнего обреза стоек должно быть от 100 до 200 мм включительно. Торцовые борта платформы наращивают досками сечением не менее 50х150 мм или горбылями толщиной не менее 50 мм и длиной 2700 мм, которые крепят со стороны груза к торцовым стойкам гвоздями длиной не менее 100 мм.
Торцовые стойки укрепляют растяжками из проволоки диаметром 6 мм в шесть нитей за первые стоечные скобы платформы от торцов. Через болтовые отверстия на обоих концах рамных рельсов, уложенных в верхнем ярусе штабеля, пропускают растяжки из проволоки диаметром 6 мм в четыре нити.
Переводные механизмы закрепляют двумя увязками из проволоки диаметром 6 мм в две нити за рамные рельсы. При этом проволоку необходимо пропускать через отверстия в рамных рельсах или в упорах, прикрепленных к ним, или в лафетных листах. Обе указанные увязки скручиваются.
В первые и третьи боковые стоечные скобы, считая от торцовых бортов платформы, устанавливают четыре пары стоек. Расстояние от верхних рамных рельсов до верхнего обреза стоек должно быть от 100 до 200 мм включительно. Противоположные боковые стойки скрепляют проволокой диаметром 6 мм в шесть нитей.
