Данные грузы необходимо размещать вплотную друг к другу и к торцовой стенке контейнера. Металлические, в том числе ровные без выступов поверхности груза, должны быть отделены прокладками от внутренних поверхностей контейнера.
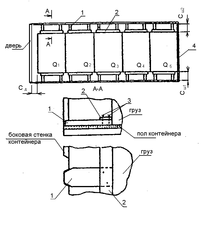
Грузы, располагаемые в контейнере симметрично относительно продольной плоскости симметрии контейнера в один ряд по ширине и в один ярус по высоте, необходимо крепить от поперечных перемещений упорными брусками 1 сечением не менее 30х100 мм, укладываемыми по 2 шт. с обеих сторон каждого грузового места вплотную к нему и к боковым стенкам контейнера (рисунок 5).

Сд≤200 мм; Сш1=Сш2; Сш1+Сш2≥200 мм
Рисунок 5 (Вид сверху внутри контейнера)
1 — упорный брусок; 2- соединительная планка; 3- гвозди;
4 — прокладка
Концы упорных брусков должны входить во впадины гофров и соприкасаться с обшивкой контейнера всей площадью торцов. С этой целью бруски надлежит опиливать в соответствии с размерами и формой гофров. Со стороны груза упорные бруски необходимо скреплять попарно сверху соединительной планкой 2 сечением не менее 22х100 мм, закрепляемой к каждому бруску двумя гвоздями 3 длиной 40 мм.