Машины на платформах закрепляют проволочными растяжками и обвязками, упорными и распорными брусками. Бруски изготовляют из древесины хвойных и лиственных пород. Рекомендуемая форма упорных брусков показана на рисунке 2.

Рисунок 2
Запрещается использование березы, осины, ольхи, липы и сухостойной древесины всех пород.
Крепление машин должно иметь одинаковую несущую способность в обе стороны. При разной массе установленных на платформу машин общие для соседних машин элементы крепления (например, упорные и распорные рамы) выбирают, исходя из массы более тяжелой машины.
При передаче продольной нагрузки на торцевой борт платформы, его необходимо подкреплять двумя короткими деревянными стойками.
Количество и длина брусков определяется в зависимости от размеров ходовых частей машины, ее массы, а также наличия на деревянном полу платформы места для их установки. Длина брусков должна обеспечивать возможность забивания необходимого количества гвоздей при соблюдении нормативных расстояний между ними в соответствии с требованиями главы 1 настоящих ТУ.
При установке упорных и распорных деревянных брусков бóльшее количество гвоздей забивают в бруски, расположенные вдоль вагона, задействуя для крепления возможно бóльшее число досок настила пола. Однотипные бруски прибивают одинаковым количеством гвоздей.
Распорные конструкции из брусков в виде рам устанавливают по месту, в распор между машинами или между машиной и торцевыми бортами платформы. При невозможности прибить отдельные бруски на платформах с дерево-металлическим полом, распорную раму собирают с помощью строительных скоб или накладных досок толщиной не менее 25 мм и гвоздей диаметром 4,5 мм по 2 гвоздя в соединение. Длина продольных распорных брусков, которые невозможно прибить к полу платформы из-за металлического листа, не должна превышать 1500 мм.
Бруски, а также основания подставок под стрелу и противовес крана, одноковшового экскаватора, прибивают к полу платформы гвоздями диаметром не менее 6 мм и длиной, превышающей высоту бруска не менее, чем на 50 мм.
2.1 После размещения машины на вагоне каждую ее гусеницу в продольном направлении закрепляют с двух сторон упорными поперечными брусками, устанавливаемыми вплотную к тракам. Длина бруска должна быть не менее ширины гусеницы (рисунок 3) или ширины машины по тракам (рисунок 4), где это необходимо по условиям размещения гвоздей.

Рисунок 3
а – траки гладкие; б – траки с зацепами (выступами);
1 – брусок поперечный; 2 – брусок продольный; 3 – гвоздь; 4 – скоба строительная

Рисунок 4
а) – ширина машины меньше ширины платформы;
б) – ширина машины больше ширины платформы;
1 – брусок поперечный; 2 – брусок продольный
Бруски 1 должны подгоняться по месту и плотно прилегать к тракам гусениц по всей их ширине, при этом они не должны упираться в острие гребней траков. Каждый короткий брусок закрепляют к полу платформы четырьмя гвоздями 3 диаметром не менее 6 мм, а один длинный брусок— шестью гвоздями.
Напротив каждой гусеницы вплотную к упорному бруску устанавливают продольные бруски 2 сечением не менее 100×100 мм: при ширине гусеницы менее 400 мм устанавливают один-два продольных бруска, при большей ширине—три. Длина брусков определяется возможностью забивки расчетного количества гвоздей (таблица 2), работающих в одном направлении.
Таблица 2
|
Масса Машины (тягача), т |
До 12 вкл. |
свыше 12,1 до 18,0 вкл. |
свыше 18,1 до 22,0 вкл. |
свыше 22,1 до 26,0 вкл. |
свыше 26,1 до 30,0 вкл. |
|
Общее количество гвоздей в одном продольном направлении, шт. |
44 |
86 |
100 |
126 |
160 |
2.2 Машины, имеющие гусеницы с гладкими траками, допускается крепить в продольном направлении не менее чем двумя продольными упорными брусками (рисунок 5) сечением не менее 100×100 мм. Для большей устойчивости их укладывают широкой стороной на пол и затесывают с торца по площади контакта с траком гусеницы на высоту не менее 40 мм. Рекомендуемые формы торцов упорных брусков показаны на рисунке 6.
|
Рисунок 5 |
|
|
|
Рисунок 6 |
2.3 Для закрепления машин от поперечного смещения на платформе с открытыми бортами вдоль каждой гусеницы, вплотную к ней с внутренней стороны укладывают по одному упорному бруску сечением не менее 100×100 мм и длиной, равной опорной части гусеницы (рисунок 7 а, б). Допускается установка упорного бруска, состоящего из двух частей по длине (рисунок 7 в, г). Длина продольных брусков, укладываемых напротив ведущих и направляющих звездочек вдоль внутренних сторон обеих гусениц, должна быть не менее 600 мм.

Рисунок 7
Между продольными брусками длиной до 2000 мм (рисунок 7 а, б), в распор устанавливают не менее двух, а при большей длине, — не менее трех распорных брусков того же сечения, каждый из которых закрепляют к полу гвоздями диаметром 6 мм. Распорные бруски размещают не ближе 200 мм от концов продольных упорных брусков.
Допускается вместо поперечных распорных брусков устанавливать только продольные упорные бруски того же сечения (рисунок 7 д, е, ж).
Общее количество гвоздей для крепления груза в поперечном направлении определяют в зависимости от массы машины по таблице 3.
Таблица 3
|
Масса машины (тягача), т |
До 12 вкл. |
свыше 12,1 до 18,0 вкл. |
свыше 18,1 до 22,0 вкл |
свыше 22,1 до 26,0 вкл. |
свыше 26,1 до 30,0 вкл. |
|
Общее количество гвоздей в одном поперечном направ-лении, шт. |
12 |
20 |
34 |
48 |
70 |
Для размещения расчетного количества гвоздей число распорных брусков может быть увеличено.
2.4В случае невозможности забить гвозди в упорные бруски, непосредственно примыкающие к тракам, разрешается забивать их в бруски, укладываемые перпендикулярно к упорным. Примыкающие перпендикулярно друг к другу бруски в этом случае должны иметь одинаковое сечение и надежно скрепляться между собой строительными скобами.
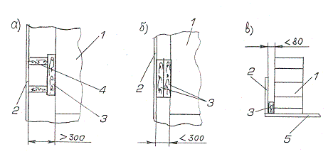
2.5 При размещении машин на платформе с закрытыми боковыми бортами для закрепления от поперечного смещения вдоль каждой гусеницы с внешней стороны, напротив клиновых запоров или стоечных скоб укладывают (рисунок 8) не менее двух упорных брусков 3 сечением 100100 мм и длиной не менее 500 мм.

Рисунок 8
а, б – вид сверху; в – вид с торца;
1 – гусеница; 2 – боковой борт платформы; 3 – брусок продольный; 4 – брусок поперечный;
5 – пол платформы
В распор между продольным бруском и боковым бортом платформы устанавливают по два распорных бруска 4 высотой не менее 60 мм (рисунок 8 а). При расстоянии между гусеницей машины и боковым бортом платформы менее 300 мм распорные бруски устанавливают вдоль борта враспор между упорным бруском и бортом, выбирая ими зазор (рисунок 8 б, в).
Высота продольных брусков для машин массой до 12 т. с гладкими траками должна быть не менее 50 мм, а в остальных случаях для любых траков—100 мм. Каждый брусок 3,4, по возможности, закрепляют к полу не менее, чем двумя гвоздями диаметром 5 и длиной 150 мм. При массе машины свыше 18,1 т боковые борта платформы обязательно подкрепляют короткими деревянными стойками.
Общее количество гвоздей для крепления брусков между гусеницей и закрытым бортом платформы определяют в зависимости от массы машины по таблице 4.
Продолжение инструкции:


