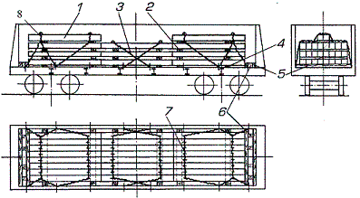
4.1 * Железобетонные колонны, прогоны, подножники, сваи длиной до 6,5 м включительно размещают на платформах и в полувагонах двумя – четырьмя штабелями по длине вагона (рисунки 25…29). Штабели меньшей высоты размещают в средней части платформы. Каждый штабель изделий размещают на поперечных подкладках 4 сечением не менее 50×100 мм. Между ярусами укладывают прокладки 2 сечением не менее 50×100 мм и длиной, равной ширине штабеля. В каждом ярусе изделия увязывают между собой за монтажные петли двумя поперечными увязками 5 (рисунок 25…27, 30), 7 (рисунок 28), 6 (рисунок 29) из проволоки диаметром 6 мм в четыре нити.
4.1.1 * На платформах груз размещают:
изделия длиной менее 3,3 м – четырьмя штабелями (рисунок 25);
изделия длиной более 3,3 до 4,4 м включительно – тремя штабелями (рисунок 26);
изделия длиной более 4,4 до 6,5 м включительно – двумя штабелями (рисунок 27).

Рисунок 25
1 – изделие; 2 – прокладка; 3 – растяжка; 4 – подкладка; 5 – увязка

Рисунок 26
1 – изделие; 2 – прокладка; 3 – растяжка; 4 – подкладка; 5,6 – увязка

Рисунок 27
1 – изделие; 2 – прокладка; 3 – растяжка; 4 – подкладка; 5,6 – увязка
Каждую подкладку закрепляют к полу платформы гвоздями диаметром 6 мм, длиной не менее 120 мм (таблица 2).
Таблица 2
|
Масса груза на платформе, т |
Количество штабелей по длине |
Количество гвоздей на одну подкладку |
|
до 63 включительно |
4 3 2 |
7 10 14 |
|
более 63 |
4 3 2 |
8 10 16 |
Штабели закрепляют растяжками 3 из проволоки диаметром 6 мм. Параметры крепления штабелей приведены в таблице 3.
Таблица 3
|
Число штабелей по длине платформы |
Масса груза, т |
Номер рисунка |
Параметры крепления штабеля (количество растяжек и число нитей в растяжке) | |
|
|
|
|
Крайний штабель |
Средний штабель |
|
4 |
до 71 |
25 |
2 пары по 8 нитей |
2 пары по 8 нитей |
|
3 |
до 71 |
26 |
3 пары по 8 нитей |
2 пары по 8 нитей |
|
2 |
до 66 вкл.
|
27 |
4 пары растяжек, из них: | |
|
|
|
|
Крайние 3 пары – по 8 нитей; одна пара в центре платформы – 2 нити
| |
|
более 66 |
4 пары по 8 нитей | |||
Верхние неполные ярусы закрепляют к нижележащим увязками 6 из проволоки диаметром 6 мм в 4 нити.
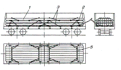
4.1.2 *В полувагоне размещают изделия длиной до 6,2 м включительно. При этом внутренняя длина полувагона должна обеспечивать установку упорных брусков между грузом и торцовыми порожками. Торцовые двери полувагона должны быть закрыты.
Изделия в зависимости от их длины размещают:
длиной до 3,1 м включительно – в четыре штабеля;
длиной более 3,1 до 4,1 м включительно – тремя штабелями (рисунок 28);
длиной более 4,1 до 6,2 м включительно – двумя штабелями (рисунок 29).

Рисунок 28
1 – изделие; 2 – прокладка; 3 – растяжка; 4 – подкладка; 5 – упорный брусок; 6 – распорный брусок; 7, 8 – увязка

Рисунок 29
1 – изделие; 2 – прокладка; 3 – растяжка; 4 – подкладка;
5 – упорный брусок; 6 – увязка
У торцовых порогов полувагонов устанавливают упорные бруски 5 сечением не менее 100100 мм (рисунок 29) или распорные рамы, (рисунок 28). Рамы формируют из двух упорных 5 и четырех распорных 6 брусков того же сечения, которые скрепляют между собой скобами из прутка диаметром не более 8 мм.
Каждый штабель закрепляют растяжками из проволоки диаметром 6 мм в 6 нитей:
при погрузке четырьмя штабелями – двумя парами растяжек;
при погрузке тремя штабелями – крайние штабели закрепляют тремя парами растяжек, средний – двумя парами;
при погрузке двумя штабелями – четырьмя парами растяжек.
Верхние неполные ярусы закрепляют к нижележащим увязками 8 (рисунок 28) аналогично п. 4.1.1.
4.1.3 Допускается размещение изделий длиной более 6,2 до 6,5 м включительно двумя штабелями в полувагоне с открытыми дверями (рисунок 30).

Рисунок 30
1 – изделие; 2 – прокладка; 3 – растяжка; 4 – подкладка; 5 – увязка
Каждый штабель изделий длиной более 6,2 до 6,5 м включительно закрепляют в полувагонах шестью парами растяжек из проволоки диаметром 6 мм:
четырьмя парами в восемь нитей, закрепляемыми за нижние увязочные устройства;
двумя парами, закрепляемыми за средние увязочные устройства: в четыре нити при суммарной массе груза в полувагоне до 63 т включительно; в шесть нитей при суммарной массе груза более 63 т.
Верхний неполный ярус закрепляют растяжками 3 за средние увязочные устройства полувагона, если последние расположены ниже изделий верхнего яруса.
4.2 * Железобетонные колонны, сваи, ригели, балки прямоугольного сечения длиной более 6,5 до 14,2 м включительнона платформе размещают одним штабелем (рисунки 31, 32).

Рисунок 31
1 – изделие; 2 – прокладка; 3 – растяжка; 4 – подкладка; 5 – увязка; 6 – упорный брусок

Рисунок 32
1 – изделие; 2 – прокладка; 3 – растяжка; 4 – подкладка; 5,7 – увязка; 6 – упорный брусок
Штабель изделий располагают на двух подкладках 4 сечением не менее 50150 мм длиной, равной ширине платформы. Каждую подкладку закрепляют к полу десятью гвоздями Ø 6 х 150мм. По обе стороны от подкладок размещают вплотную к ним вдоль платформы на расстоянии 500 мм от бортов упорные бруски 6 размерами не менее 40100 х 400 мм, по четыре бруска на каждую подкладку. Бруски закрепляют к полу каждый шестью гвоздями Ø 6 х 150мм. Между ярусами изделий размещают прокладки 2 сечением не менее 50х100 мм и длиной, равной ширине штабеля. Изделия в каждом ярусе увязывают между собой за монтажные петли двумя поперечными увязками 5 из проволоки диаметром 6 мм в четыре нити.
Штабель изделий длиной до 12 м включительно закрепляют (рисунок 31) к боковым лесным скобам восемью парами растяжек 3 из проволоки диаметром 6 мм:
при суммарной массе груза до 63 т включительно – четырьмя парами растяжек в восемь нитей, закрепляемых за монтажные петли изделий второго сверху яруса, и четырьмя парами растяжек в шесть нитей, закрепляемых за монтажные петли изделий верхнего яруса;
при суммарной массе груза более 63 до 71 т включительно – восемью парами аналогично установленных растяжек в восемь нитей.
При длине изделий более 12 м крайние растяжки закрепляют за опорные кронштейны у торцовых бортов (рисунок 32).
Если в верхнем ярусе размещают изделий меньше, чем в других ярусах, и их общая ширина не превышает половины ширины штабеля, то растяжки закрепляют за монтажные петли второго и третьего сверху ярусов. Верхний ярус в этом случае закрепляют за монтажные петли изделий второго сверху яруса (рисунок 32) четырьмя увязками 7 из проволоки диаметром 6 мм:
при суммарной массе груза в ярусе до 6 т включительно — в четыре нити,
при суммарной массе груза в ярусе более 6 до 9 т включительно – в шесть нитей;
при суммарной массе груза в ярусе более 9 до 12 т включительно– в восемь нитей.
4.3 * Железобетонные колонны, сваи, ригели, балки прямоугольного сечения длиной более 6,5 до 11,5 м включительно в полувагонах размещают одним штабелем по длине.Суммарная масса груза определяется грузоподъемностью полувагона.
4.3.1 Изделия длиной до 9,5 м включительно размещают в штабеле со смещением по длине симметрично относительно продольной плоскости симметрии полувагона: изделия длиной до 8,1 м включительно – по схеме, приведенной на рисунке 33; длиной от 8,1 до 9,5 м включительно – по схеме, приведенной на рисунке 34. В этом случае количества смещенных в противоположные стороны изделий должны быть равны. Подкладки располагают вплотную к шкворневым и промежуточным балкам полувагона.

Рисунок 33
1 – изделие; 2 – прокладка; 3 – растяжка; 4 – подкладка;
5 – увязка; 6 – утолщенная подкладка

Рисунок 34
1 – изделие; 2 – прокладка; 3 – растяжка; 4 – подкладка; 5,7 – увязка; 6 – утолщенная подкладка
Изделия, размещаемые у продольных бортов, укладывают на подкладки 4 сечением не менее 50150 мм, а размещаемые в средней части вагона – на составные утолщенные в месте опирания изделий подкладки 6 сечением не менее 100150 мм (рисунки 33, 34).
Между ярусами изделий размещают прокладки 2 сечением 50100 мм, длиной, равной ширине погрузки соответствующей части штабеля. В каждом ярусе изделия увязывают между собой поперечными увязками 5 из проволоки диаметром 6 мм в четыре нити.
Изделия длиной до 9,5 м включительно закрепляют растяжками из проволоки диаметром 6 мм (рисунки 33, 34):
при суммарной массе груза до 56 т включительно – десятью парами: восемью парами в восемь нитей за нижние увязочные устройства и двумя парами в четыре нити за средние увязочные устройства;
при суммарной массе груза более 56 до 63 т включительно – двенадцатью парами: восемью парами в восемь нитей за нижние увязочные устройства и четырьмя парами в четыре нити за средние увязочные устройства;
при суммарной массе груза более 63 т – четырнадцатью парами: восемью парами в восемь нитей за нижние увязочные устройства и шестью парами в четыре нити за средние увязочные устройства. Размещаемые в верхнем ярусе единичные изделия закрепляют за монтажные петли предыдущего яруса четырьмя увязками 7 из проволоки диаметром 6 мм в четыре нити.
4.3.2 Изделия длиной более 9,6 до 11,5 м включительно размещают с опорой на шкворневые балки (рисунки 35, 36).

Рисунок 35
1 – изделие; 2 – прокладка; 3 – растяжка; 4 – подкладка; 5 – увязка; 6 – упорный брусок

Рисунок 36
1 – изделие; 2 – прокладка; 3 – растяжка; 4 – подкладка; 5 – увязка; 6 – упорная рама
У торцовых порогов полувагона устанавливают упорные бруски 6 сечением не менее 150100 мм (рисунок 35) или упорные рамы, состоящие из упорных и распорных брусков того же сечения (рисунок 36). Бруски скрепляют скобами из прутка диаметром 8…10 мм. Изделия размещают на подкладках 4 сечением не менее 50150 мм. Между ярусами изделий размещают прокладки 2 сечением 50100 мм, длиной, равной ширине погрузки соответствующей части штабеля. В каждом ярусе изделия увязывают между собой поперечными увязками 5 из проволоки диаметром 6 мм в четыре нити.
Изделия длиной более 9,5 м закрепляют растяжками из проволоки диаметром 6 мм (рисунки 35, 36) за монтажные петли изделий полного верхнего яруса четырьмя парами растяжек в шесть нитей за нижние увязочные устройства. Дополнительно изделия неполного верхнего яруса закрепляют за средние увязочные устройства:
двумя парами в шесть нитей – при массе груза в ярусе до 5,5 т включительно;
четырьмя парами в четыре нити – при массе груза более 5,5 до 15,8 т включительно;
четырьмя парами в шесть нитей при массе груза более 15,8 т.
Если верхний ярус изделий массой до 5,5 т включительно располагается по высоте ниже средних увязочных устройств полувагона, растяжки закрепляют за монтажные петли предыдущего полного яруса.
4.4 Односкатные балки длиной 12,0 м.
4.4.1 На платформах балки размещают одним штабелем двумя ярусами по высоте (рисунок 37).

Рисунок 37
1 – балка; 2 – прокладка; 3 – растяжка; 4 – подкладка; 5 – устройство для скрепления балок в монолитный блок.
В первом (нижнем) ярусе размещают семь балок по ширине вагона. Во втором ярусе укладывают: на платформах грузоподъемностью до 66 т четыре балки, грузоподъемностью 71 т – пять балок. Балки первого яруса размещают на двух поперечных подкладках 4 сечением не менее 50×150 длиной 2770 мм, каждую из которых закрепляют к полу платформы гвоздями Ø6х150 мм: при массе груза до 66 т включительно – двадцатью восемью гвоздями; при массе груза более 66 до 71 т включительно – тридцатью гвоздями. Между балками первого и второго ярусов размещают прокладки 4 сечением не менее 100×100 мм, длиной, равной ширине погрузки. Для предотвращения опрокидывания в поперечном направлении балки в каждом ярусе соединяют специальным устройством 5 в монолитный блок. От продольного и поперечного сдвига изделия закрепляют восемью парами растяжек из проволоки диаметром 6 мм. При общей массе изделий на платформе до 66,0 т первый ярус закрепляют растяжками в восемь нитей, второй ярус – растяжками в шесть нитей. При общей массе изделий более 66,0 до 71,0 т включительно все растяжки формируют в восемь нитей.
4.4.2 В полувагоне балки размещают аналогично размещению их на платформе. Внутренняя длина полувагона должна обеспечивать установку между грузом и торцовым порожком полувагона упорных брусков 6 сечением не менее 100×60 мм. Штабель размещают на двух подкладках 4 сечением 25×100 мм, которые укладывают на шкворневые балки полувагона (рисунок 38).

Рисунок 38
1 – балка; 2 – прокладка; 3 – растяжка; 4 – подкладка; 5 – устройство для скрепления балок в монолитный блок; 6 – упорный брусок (распорная рама)
Упорные бруски 6 должны иметь длину, равную ширине вагона. При установке у торцового порожка полувагона нескольких брусков каждые два соседних бруска скрепляют скобами из прутка диаметром 8…10 мм.
Для предотвращения опрокидывания в поперечном направлении балки в каждом ярусе соединяют специальным устройством 5 в монолитный блок.
Балки верхнего яруса закрепляют четырьмя парами растяжек 3 из проволоки диаметром 6 мм в шесть нитей. Растяжки закрепляют за монтажные петли изделий и нижние увязочные устройства полувагона.
