В настоящей главе определяются способы размещения и крепления грузов в крытых вагонах (далее-вагоны) (рисунки 1 и 2).


Рисунок 1 — Кузов вагона

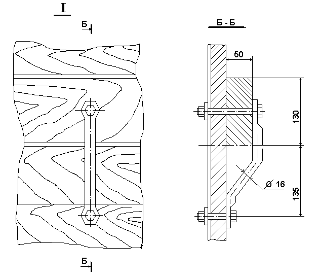
Рисунок 2 — Расположение деталей несъемного оборудования внутри кузова вагона
1.1 В целях лучшего использования грузоподъемности и вместимости вагонов, обеспечения механизации погрузочно-разгрузочных работ и сокращения времени простоя вагонов необходима соответствующая подготовка грузов к перевозке (например, пакетирование грузов на плоских, в ящичных и стоечных поддонах, формирование укрупненных грузовых единиц с помощью стяжек, обвязок, в том числе с использованием полиэтиленовой термоусадочной пленки), использование подкладок и прокладок.
При этом габаритные размеры укрупненных грузовых единиц должны быть, по возможности, кратными размерам кузова вагона.
1.2 Погрузка грузов в вагоны должна производиться в стандартной таре и упаковке.
В случае использования тары и упаковки, стандарты на которые не установлены, а также при отгрузке сельскохозяйственных продуктов в нестандартной таре, в транспортной железнодорожной накладной (далее – накладная) в графе «Наименование груза» грузоотправитель делает дополнительную запись: <Тара нестандартная. Сохранность груза обеспечивается>.
1.3 Cовместная погрузка в один вагон грузов, которые по своим свойствам могут повредить или испортить другие грузы, а также опасных грузов, жидкостей, сырья животного происхождения и других грузов, не допущенных правилами перевозок железнодорожным транспортом грузов к совместной перевозке с другими грузами, — не допускается.
1.4 Грузы в вагоне следует размещать равномерно по длине и ширине вагона. Продольное и поперечное смещения общего центра массы груза не должно превышать норм, установленных для железнодорожного подвижного состава главой 1 настоящих ТУ.
1.5 При совместном размещении в вагоне грузов разной массы, в различной упаковке, грузы большей массы и грузы в жесткой упаковке должны размещаться внизу, а грузы меньшей массы, грузы в мягкой, решетчатой, фанерной, картонной и другой облегченной упаковке — наверху.
Грузы массой более 500 кг, длина которых превышает ширину дверного проема вагона, могут перевозиться в вагонах при условии, что их погрузка и выгрузка из вагонов (в том числе с уширенными дверными проемами) может быть выполнена механизированным способом.
1.6 . При размещении штучных грузов массой 500 кг и более удельная расчетная нагрузка на пол вагона не должна превышать 1,35 Н/см2 (О,138 кг/см2)
Допускаемая нагрузка на скобу несъемного оборудования крытого вагона 30 кН (326 кг)( рисунок 2, узел I). При этом угол между растяжкой, закрепленной на скобе, и боковой стенкой вагона не должен превышать 30 град.
1.7 Колеса погрузчика (разгрузчика), используемого для выполнения погрузочно-разгрузочных работ в вагоне, должны иметь резиновые шины. Расстояние между передними колесами должно быть не менее 750 мм.
Для проезда погрузчика с грузом по деревянному настилу пола вагона под колеса погрузчика следует укладывать листы железа толщиной 4 -5 мм, которые убирают по мере загрузки вагона.
1.8 В целях обеспечения сохранности груза и железнодорожного подвижного состава, грузы в вагонах необходимо размещать, руководствуясь положениями ГОСТ 22235-76 «Вагоны грузовые магистральных железных дорог колеи 1520 мм.».
1.9 Забивать в стены, дверные коробки крытого вагона и балки несъемного оборудования гвозди, воспринимающие нагрузку от элементов крепления груза в вагоне, не допускается.
Разрешается гвоздевое крепление к дверным коробкам досок ограждения дверного проема.
Для предотвращения повреждения груза выступающими элементами вагона (например, частей несъемного оборудования кузова крытого вагона, головками болтов, накладками) в процессе перевозки грузоотправитель должен принять меры по ограждению их посредством застилки пола крытого вагона бумагой в 2 — 4 слоя и стенок вагона мешковиной или бумагой, а также оборачивания мешковиной или бумагой или обивкой выступающих частей груза. Фиксирование обивки в требуемом положении осуществляют рейками толщиной 5 -10 мм, закрепляемыми на стенках вагона гвоздями.
1.10 Торцовые стены вагона должны ограждаться деревянными щитами на высоту размещения груза при погрузке следующих грузов:
— металл в слитках и другие грузы, имеющие небольшой коэффициент трения скольжения или выступы, наносящие повреждения стенкам вагона;
— фанера, листовой металл, шифер, гипсо-картонные плиты, ДВП, ДСП и другие подобные грузы;
— сортовой металл и металлические трубы;
— бочки, барабаны, катушки и другие цилиндрические грузы.
Щит ограждения (рисунок 3) изготавливают из досок длиной, равной ширине вагона.

Рисунок 3.
Деревянный щит ограждения
Промежутки между досками щита должны быть меньше высоты отдельных грузовых мест. Толщина досок должна быть не менее 40 мм. Щит собирают на четырех стойках. В каждое соединение забивают два-три гвоздя размерами не менее 4 х 80 мм. Допускается взамен досок использовать горбыль или другие равнопрочные материалы.
Щит ограждения устанавливают на всю ширину вагона стойками к торцовой стенке вагона.
Допускается при погрузке фанеры, гипсо-картонных плит, ДВП, ДСП и других листовых грузов, вместо щитов ограждать торцовые стены вагона на высоту погрузки этими же грузами, установленными вертикально.
Допускается в качестве ограждения торцовых стен вагона использовать связки и пачки из различных грузов: листового и сортового металла, труб, метизов, лесоматериалов, цилиндрических и других грузов достаточной прочности, уложенных длинной стороной поперек вагона.
1.11 При перевозке тарных штучных грузов в вагонах с сопровождением или охраной и с отоплением вагона, расстояние между грузом и печью должно быть не менее 70 см, а между верхом штабеля и потолком вагона — не менее 50 см (рисунок 4).

Рисунок 4 – Размещение тарных штучных грузов в вагоне с сопровождением проводниками
1 –увязка из проволоки; 2 – распорка; 3 – стойка; 4 – упорная доска; 5 – печь; 6 – печные трубы
Продолжение инструкции: