4.1 Универсальный турникет типа Минэнерго
Универсальный турникет (рисунок 17) предназначен для перевозок любых длинномерных конструкций.
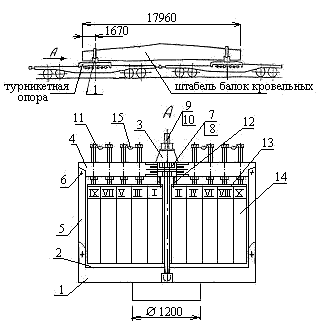
Каждая турникетная опора турникета состоит из трёх рам: подвижных верхней 1 и промежуточной 2и неподвижной нижней 3.

Рисунок 17-Турникетная опора типа Минэнерго
1 — рама верхняя; 2- рама промежуточная; 3- рама нижняя; 4-упор продольный винтовой;
5- упорная шайба; 6- упор жесткий поперечный; 7- увязка; 8- подкладка деревянная;
9 — криволинейная направляющая; 10- амортизатор резиновый; 11- цапфа; 12- ползун;
13- элемент дугообразный; 14- элемент боковой; 15- плоские направляющие
Турникет имеет следующие характеристики (таблица 5).
Таблица 5
|
Параметры и единицы измерения |
Величина |
|
Грузоподъёмность (включая массу подвижных элементов Турникета), т Масса, кг одного турникета неподвижной рамы турникета груза с турникетом
Расстояние между осями опорных поперечных балок, мм |
72,4
4100 2600 75000
3500 |
4.1.1 Турникет типа Минэнерго шифр 101.01/1 литера «А» состоит из двух турникетных опор и комплектов крепления, конструкция которых зависит от типа перевозимого длинномерного груза.
Для размещения и крепления длинномерных конструкций в зависимости от их конфигурации используют различные комплекты крепления такого турникета.
К железнодорожной платформе каждую турникетную опору закрепляют с помощью упоров (рисунок 17): продольных винтовых 4с шарнирными упорными шайбами 5 и жестких поперечных 6 на нижней раме. Винтовые упоры доводят до соприкосновения упорных шайб со стоечными скобами платформы, после чего их фиксируют увязками 7из проволоки диаметром 4 мм водин оборот. Поперечные балки нижней рамы оснащают деревянными подкладками 8фиксируемыми гвоздями, а продольные балки–криволинейными направляющими 9 и резиновыми амортизаторами10. Промежуточную раму 2 опирают на направляющие четырьмя цапфами 11 с ползунами 12. Во время соударений вагонов промежуточная и верхняя рама с грузом совершают возвратно-поступательные перемещения относительно нижней рамы. При этом ползуны скользят по криволинейным направляющим. Верхняя рама соединяется с промежуточной с помощью поворотного устройства, состоящего из двух дугообразных элементов 13 на верхней раме и двух боковых элементов 14 на промежуточной. Номинальный диаметр поворотного устройства равен 1200 мм. При проходе железнодорожного состава по горизонтальным кривым участкам пути верхняя рама поворачивается относительно промежуточной, опираясь на её плоские направляющие 15.
4.1.2 Для крепления центрифугированных стоек опор высоковольтных линий в зависимости от их типоразмеров применяют комплекты крепления (рисунок 18) состоящие из четырёх-пяти пар сварных балок (бандажей) 1 с обрезиненными ячейками 2. С каждого торца ячейки 2на бандаже с помощью спиральной скобы 3закреплены цепная обвязка 4 и цепная обвязка 5 со специальным цепным замком, жёстко связанным с гайкой М42, в которую ввёрнут винт 6с шаровым обрезиненным упором 7. Каждую ж.б. стойку укладывают в ячейки двух бандажей, расположенных над турникетами сцепа, после чего задавливают винтами 6, которые фиксируют увязками 8. Бандажи устанавливают один на другой и фиксируют посредством зубьев 9,входящих в пазы10. Нижний бандаж представляет собой единое целое с верхней рамой турникета. Каждый верхний (четвёртый или пятый) бандаж соединён с помощью шарового шарнира 11 с кулисами (толкателями) 12 четырьмя цепными растяжками 13, с винтами М42и гайками 14.В свою очередь кулисы, с помощью шарниров 15 и криволинейных направляющих 16, соединены соответственно с нижним бандажом и нижней рамой турникетной опоры.

Рисунок 18- Комплект крепления для ж.б. центрифугированных стоек
1 — балка (бандаж); 2- ячейка обрезиненная; 3- скоба спиральная; 4,5 — обвязка цепная;
6- винт; 7- упор шаровой обрезиненный; 8, 18- увязка; 9- зуб; 10- паз; 11- шарнир шаровой; 12- кулиса (толкатель); 13- растяжка цепная; 14- гайка; 15- шарнир;
16- криволинейная направляющая; 17- шплинт
Кулисы и цепные растяжки на бандажах фиксируют в шарнирах шплинтами 17. Каждую растяжку натягивают с помощью гайки 14 до тех пор, пока соответствующая кулиса займёт по высоте среднее положение в окне поперечной балки нижней рамы турникета. Затем гайку фиксируют увязкой 18.Увязки 8 и 15 изготавливают из проволоки диаметром 4 мм в один оборот.
При прохождении сцепом кривых участков пути криволинейные направляющие кулис обеспечивают постоянное натяжение растяжек.
4.1.3 Центрифугированные конические стойки длиной 22,6 и 26 м, диаметром основания 650 ммразмещают на сцепе из двух платформ одним штабелем, включающем 14 (рисунок 19) или 16 стоек (рисунок 20) в четыре яруса или одним штабелем, включающем 18 стоек и состоящем из пяти ярусов (рисунок 21).

Рисунок 19 Рисунок 20
1- стойка ж.б.; 2- балка (бандаж); 3- обвязка 1 — стойка ж.б.; 2- балка (бандаж); 3- об цепная; 4- растяжка цепная; 5- обвязка цепная вязка цепная; 4- растяжка цепная
неиспользованная; 6- увязка

Рисунок 21
1- стойка ж.б.; 2- балка (бандаж); 3- обвязка цепная; 4- растяжка цепная
При этом в трёх нижних ярусах стойки 1 укладывают в ячейки бандажей 2 по четыре штуки, в четвёртом ярусе – две или четыре, а в пятом ярусе – две. В смежных ярусах стойки располагают вершинами и основаниями в противоположные стороны. При этом бандажи пятого яруса опирают на железобетонные стойки нижележащего яруса.
В трёх нижних ярусах основания железобетонных стоек 1 закрепляют двумя парами цепных обвязок3с винтами.
При размещении груза в четыре яруса (рисунок 19 и рисунок 20) каждую железобетонную стойку, расположенную в четвёртом ярусе, закрепляют четырьмя парами цепных обвязок с винтами: двумя парами ближе к основанию, двумя парами ближе к вершине.
При размещении груза в пять ярусов (рисунок 21) аналогичным образом закрепляют каждую из двух крайних стоек четвёртого яруса и попарно внутренние стойки четвёртого и пятого ярусов.
Каждый бандаж четвёртого яруса соединяют с кулисами четырьмя цепными растяжками 4.
Неиспользованные цепные обвязки 5 (рисунок 19) укладывают в свободные крайние ячейки бандажей четвёртого яруса и привязывают к ним увязками 6 из проволоки диаметром 4 мм в две нити.
4.1.4 Центрифугированные конические стойки длиной 22,6 м диаметром основания 560 ммразмещают на сцепе двух платформ (рисунок 22) одним штабелем, включающем 23 стойки в пять ярусов: в первых четырёх ярусах по пять стоек, в пятом – три. При этом соблюдают чередование оснований и вершин соседних стоек в каждом ярусе, а также в смежных ярусах. Основания стоек с первого по четвёртый ярус закрепляют двумя парами цепных обвязок 3с винтами. В пятом ярусе каждую стойку закрепляют четырьмя парами обвязок с винтами за основание и вершину. Каждый бандаж пятого яруса соединяют с кулисами четырьмя цепными растяжками 4.

Рисунок 22
1- стойка ж.б.; 2- балка (бандаж); 3- обвязка цепная; 4- растяжка цепная
4.1.5 Центрифугированные цилиндрические стойки длиной 22,2 и 26,4 м, диаметром 560 мм размещают на сцепе из двух платформ одним штабелем, включающем 14 (рисунок 23) или 16 стоек (рисунок 24) в четыре яруса или один штабель, включающем 18 стоек в пять ярусов (рисунок 25).

Рисунок 23 Рисунок 24
1- стойка ж.б.; 2- балка(бандаж); 3- обвязка 1- стойка ж.б.; 2- балка (бандаж);
цепная; 4- растяжка цепная; 5- обвязка цепная 3- обвязка цепная; 4- растяжка цепная
неиспользованная; 6- увязка

Рисунок 25
1- стойка ж.б.; 2- балка (бандаж); 3- обвязка цепная; 4- растяжка цепная
При этом в трёх нижних ярусах стойки укладывают в ячейки бандажей 2по четыре штуки, в четвёртом – две или четыре, а в пятом – две. При этом бандажи пятого яруса опирают на железобетонные стойки нижележащего яруса.
Цепными обвязками 3 с винтами закрепляют над одним турникетом каждую стойку первого, третьего и четвёртого, а над другим – второго и четвёртого ярусов.
При размещении груза в пять ярусов (рисунок 25) цепными обвязками с винтами закрепляют над одним турникетом каждую стойку первого, третьего и две крайние стойки четвёртого, а над другим – каждую стойку второго и две крайние стойки четвёртого, а над другим – каждую стойку второго и две крайние стойки четвёртого ярусов. Две внутренние стойки четвёртого и две крайние стойки пятого ярусов закрепляют попарно над каждым турникетом.
Каждый бандаж четвёртого яруса соединяют с кулисами четырьмя цепными растяжками 4.
Неиспользованные цепные обвязки 5 (рисунок 23) укладывают в свободные крайние ячейки бандажей четвёртого яруса и привязывают к ним увязками 5из проволоки диаметром 4 мм в две нити.
4.1.6 Вибрированные конические стойки длиной 16,4 м размещают на сцепе из трёх платформ в два штабеля 1 по 25 штук (вариант 1) или в два штабеля по 27 штук (вариант 2) на четырёх турникетных опорах (рисунок 26).

Рисунок 26
1- штабель вибростоек; 2- стойка ж.б.; 3, 4- рама сварная; 5- настил деревянный; 6, 7- балка сварная; 8, 9- стойка наклонная; 10- шарнир; 11- винт вертикальный; 12- шайба обрезиненная; 13, 14- увязка
При этом по середине крайних платформ сцепа устанавливают по одной турникетной опоре, а над тележками средней платформы устанавливают две турникетных опоры любой модификации, т.к. загрузка каждого из них вдвое меньше загрузки крайних турникетов сцепа.
В каждом штабеле железобетонные стойки 2 укладывают пирамидой соответственно в пять или в шесть ярусов по высоте основаниями к торцам сцепа. В нижнем ярусе располагают семь стоек, в каждом последующем – на одну стойку меньше. Стойки вышележащих ярусов укладывают между строповочными петлями нижележащих ярусов.
Комплект крепления для перевозки вибростоек состоит из двух пар сварных рам3и4 в виде скоб с деревянным настилом5и двух пар сварных балок 6и7. Рамы и балки соединены между собой наклонными стойками 8 и 9 с помощью шарниров 10. Каждая рама 3и 4представляет собой единое целое с верхней рамой турникета, а каждая балка 6 и 7 оснащена тремя (вариант 1) или двумя (вариант 2) вертикальными винтами 11с резьбой М42и обрезиненными шайбами 12, с помощью которых штабель вибростоек 1 прижимают к деревянному настилу рам. Все шарниры фиксируют шплинтами, а вертикальные винты и боковые вибростойки штабеля – увязками 13 и 14 из проволоки диаметром 4 мм в один оборот.
4.1.7 Кровельные балки длиной 18 м размещают на сцепе двух платформ одним штабелем из 10 балок в один ярус в вертикальном положении.
Комплект крепления для перевозки балок состоит из двух сварных рам 1 в виде скоб с деревянными настилами 2, двух наголовников 3 и двух пар сварных балок (прижимов) 4. Рамы и балки соединены между собой вертикальными стойками 5 с помощью шарниров 6, четырёх стяжных болтов 7 с гайками 8 и двух тяг 9 с гайками 10. Каждая рама представляет собой единое целое с верхней рамой турникетной опоры, а каждая балка 4 оснащена четырьмя регулируемыми 11 и одним нерегулируемым 12 болтами, с помощью которых через резиновые прокладки 13 кровельные балки 14 прижимают к деревянному настилу каждой рамы. Все шарниры фиксируют шплинтами, а резьбовые элементы – увязками 15 из проволоки диаметром 4 мм в две нити (рисунок 27).

Рисунок 27
1- рама (скоба); 2- настил деревянный; 3- наголовник; 4- балка (прижим); 5- стойка вертикальная; 6- шарнир; 7- болт стяжной; 8, 10- гайка; 9- тяга; 11- болт регулируемый; 12- болт нерегулируемый; 13- прокладка резиновая; 14- ж.б. балка; 15- увязка
Груз размещают на сцеп в последовательности (рисунок 27), обозначенной римскими цифрами, при условии откинутых стоек 5 с прижимами 4 и обязательной фиксацией тяг 9 в вертикальном положении с помощью проволоки или специальных фиксаторов к раме 1. При погрузке каждую последующую балку закрепляют к ближайшей, ранее погруженной, двумя технологическими хомутами за строповочные петли.
4.1.8 После окончания погрузки и крепления железобетонных конструкций внешние торцовые и крайние секции боковых бортов платформ сцепа поднимают и закрепляют клиновыми запорами. Открытые секции продольных бортов каждой платформы сцепа закрепляют средствами грузоотправителя в соответствии с главой 1 настоящих ТУ.
4.1.9 Демонтаж и подготовка к возврату порожних турникетов осуществляют по схемам, изображённым на рисунках 28, 29, 30.
4.1.9.1 Две турникетных опоры 1 с комплектом крепления для центрифугированных стоек размещают на одной платформе симметрично относительно ее продольной и поперечной плоскостей симметрии (рисунок 28). При этом турникет закрепляют в соответствии с п.4.1.1. настоящей главы.

Рисунок 28 — Размещение и крепление порожнего турникета для ж.б. центрифугированных стоек на одной платформе 1 — турникетная опора; 2- бандаж; 3, 6, 7- увязка; 4- растяжка цепная; 5- кулиса; 8, 9- растяжка
На каждой турникетной опоре оставляют по два нижних бандажа 2, верхние бандажи попарно размещают на полу платформы в её средней части. При этом два зуба нижестоящих бандажей вводят в пазы вышестоящих бандажей (рисунок 28,А).
В средней части вагона смежные бандажи в каждом из двух ярусов попарно соединяют двумя увязками 3из проволоки диаметром 4 мм в три оборота за стержни диаметром 30 мм на торцах бандажей.
Цепные растяжки 4 комплекта крепления укладывают между кулисами 5 на пол вагона.
При наличии в комплекте бандажей пятого яруса их размещают по одному на турникетных опорах между кулисами и фиксируют через окна в поперечных балках турникетных опор двумя увязками 7 из проволоки диаметром 4 мм в три оборота.
Бандажи вторых ярусов закрепляют за торцевые стержни растяжками из проволоки диаметром 6 мм в четыре нити: два бандажа на турникетных опорах – четырьмя растяжками 8 к поперечным рёбрам продольных балок турникетных опор; четыре бандажа в средней части – четырьмя растяжками 9 к окнам поперечных балок турникетных опор.
4.1.9.2 Две турникетные опоры 1 с комплектом крепления для центрифугированных стоек размещают на сцепе из двух платформ (рисунок 29).

Рисунок 29-Размещение и крепление порожнего турникета для ж.б. центрифугированных стоек на сцепе двух платформ
1- турникетная опора; 2- бандаж; 3, 6, 7- увязка; 4- растяжка цепная; 5- кулиса; 8, 9- растяжка
На каждой платформе турникетную опору 1 размещают симметрично относительно продольной и поперечной плоскостей симметрии вагона и закрепляют в соответствии с подпунктом 4.1.1 настоящей главы.
Остальные узлы комплекта закрепляют аналогично требованиям подпунктом .4.1.9. настоящей главы.
Отличия: по два верхних бандажа размещают на полу каждой платформы около вторых стоечных скоб от торца вагона симметрично относительно его продольной плоскости симметрии. Бандажи попарно соединяют двумя увязками 3их проволоки диаметром 4 мм в три оборота за стержни диаметром 30 мм на торцах бандажей. Каждую пару бандажей за торцевые стержни закрепляют четырьмя растяжками 9 из проволоки диаметром 6 мм в четыре нити к первым и третьим стоечным скобам вагона.
4.1.9.3 Четыре турникетных опоры 1 с двумя комплектами крепления для вибрированных стоек размещают на одной платформе симметрично относительно её продольной и поперечной плоскостей симметрии (рисунок 30).

Рисунок 30-Размещение и крепление порожних турникетов для железобетонных вибрированных стоек на одной платформе
1- турникетная опора; 2- растяжка; 3- рама; 4, 5- балка; 6- увязка
Две турникетных опоры устанавливают над тележками вагона и закрепляют в соответствии с подпунктом 4.1.1. настоящей главы. Две других турникетных опоры устанавливают с опиранием одной стороной на одну из ранее установленных турникетных опор, а другую — на пол вагона таким образом, чтобы поперечные упоры охватывали армирующие уголки платформ. Каждую из этих турникетных опор закрепляют четырьмя растяжками 2 из проволоки диаметром 6 мм в шесть нитей за наружные продольные балки турникетных опор и за вторые от середины вагона стоечные скобы.
На каждой турникетной опоре оставляют рамы 3 и балки 4, 5, которые в обязательном порядке складывают, как показано на виде с торца.
От самопроизвольного поворота рамы 3 фиксируют за их боковые стойки к наружным продольным балкам турникетных опор двумя увязками 6 из проволоки диаметром 4 мм в два оборота.
4.1.9.4 Запрещаетсяпри возврате порожних турникетов устанавливать балки (бандажи) для размещения железобетонных центрифугированных стоек более, чем в два яруса.
Грузополучатель, после выгрузки железобетонных конструкций, производит размещение и закрепление отдельных узлов (элементов) турникетов в соответствии со схемами, предусмотренными в подпунктах.4.1.9- 4.1.9.4 настоящей главы, предъявляет вагоны к перевозке, сделав при этом на оборотной стороне накладной в графе 1 отметку «Турникеты шифр __________ и комплект крепления шифр __________ размещены и закреплены согласно подпункта.4.1.9 главы 10 ТУ (или согласно чертежу (схеме)) № __________ от __________, утверждённому перевозчиком __________. Для крепления применены следующие реквизиты: «……»
Отметку заверяют подписью ответственного за погрузку работника грузоотправителя порожнего турникета с указанием его должности и фамилии.
4.2 Турникет типа УО ВНИИЖТ
4.2.1 Характеристика турникета типа УО ВНИИЖТ
Грузоподъемность, т – 120
Масса одной турникетной опоры , т – 6,0
База, мм – 3300
Ширина, мм – 3150
Турникет типа УО ВНИИЖТ (рабочий проект ТВ66) — Уральского отделения Всероссийского научно-исследовательского института железнодорожного транспорта. Адрес калькодержателя: 620027, г. Екатеринбург, ул. Челюскинцев, 15
Каждая турникетная опора (рисунок 31) состоит из опорной рамы (основание) 1, погрузочной балки 2 с деревянной вставкой 14, двух стоек 4 с траверсами 11, прижимной балки 3 с деревянной вставкой 14. Продольные балки опорной рамы (основания) имеют криволинейные направляющие (дорожки). Центральная дорожка 5 имеет форму желоба, а две боковые 6 – плоские, что позволяет сцепу проходить через кривые участки железнодорожного пути. Нижний уровень боковых дорожек выполнен ниже уровня желоба центральной дорожки на 4 мм.

Рисунок 31-Турникетная опора типа УО ВНИИЖТ.
1 — опорная рама (основание); 2- погрузочная балка; 3- прижимная балка; 4- стойки; 5,6- направляющие дорожки; 7- обоймы; 8- кронштейны; 9- опоры; 10- пружины; 11- траверсы; 12- винты; 13- нижняя полка; 14- деревянные вставки.
В погрузочной балке 2 имеются три шаровые обоймы 7, шары которых перемещаются по дорожкам опорной рамы и за счет подъема по криволинейной поверхности дорожек гасят инерционные усилия при соударении вагонов.
Для неразъемности погрузочной балки и опорной рамы служат кронштейны 8, которые одновременно выполняют роль механических упоров. Для удержания погрузочной балки в вертикальном положении без груза служат четыре пружинные опоры 9.
Пружины 10 стоек обеспечивают штабелю груза постоянное прижимное усилие при деформации деревянных прокладок между рядами груза. От поперечного смещения штабель груза удерживается боковыми стойками 4.
При проверке габаритности и определения степени негабаритности погрузки расчетная длина груза принимается больше фактической с каждой торцовой стороны на 500 мм, а расчетная высота на 100 мм.
4.2.2 Железнодорожные рельсы Р50, Р65 и Р75, новые и бывшие в употреблении длиной 25 м грузят на сцеп из двух платформ с использованием турникетов типа УО ВНИИЖТ (рабочий проект ТВ66). Разность уровней полов платформ сцепа не должна превышать 100 мм.
Средние секции продольных бортов с каждой стороны платформ сцепа опускаются и закрепляются грузоотправителем в соответствии с главой 1 ТУ.
Каждую турникетную опору размещают симметрично относительно продольной и поперечной плоскости симметрии платформы. При этом необходимо, чтобы поперечные упоры турникетной опоры находились с внешней стороны армирующих уголков платформы.
Винтовые упоры 2 с упорными шайбами на конце должны быть завинчены до плотного соединения со стоечными скобами платформ 1 и застопорены от раскручивания контргайками 4 (рисунок 32).

Рисунок 32
1 — стоечная скоба платформы; 2- винтовой упор;
3- рама (основание) турникета; 4- контргайка.
После установки турникетных опор на платформы, криволинейные направляющие (дорожки) очищают от грязи и смазывают по всей длине универсальной среднеплавкой смазкой (солидол жировой марки УС-2 ГОСТ 1033-79). Проверяют наличие и исправность деревянных вставок в погрузочных и прижимных балках.
Перед началом погрузки прижимные балки снимают с турникетных опор.
Рельсы укладывают на погрузочные балки в четыре яруса подошвами вниз (рисунок 33).

Рисунок 33-Железнодорожные рельсы на турникете
Основные характеристики погрузки приведены в таблице 6.
Таблица 6
|
Наименование |
Тип рельса |
||
|
|
Р75 |
Р65 |
Р50 |
|
Количество рельсов в ярусе |
16 |
18 |
20 |
|
Количество ярусов |
4 |
4 |
4 |
|
Ширина штабеля, мм |
2460 |
2760 |
2740 |
|
Высота штабеля, мм |
900 |
840 |
740 |
|
Количество прокладок, шт. |
18 |
18 |
18 |
|
Количество обвязок, шт. |
3 |
3 |
3 |
Между нижним и последующими ярусами рельсов размещают деревянные прокладки размером не менее 40х100х2700 мм. Прокладки располагают в середине турникетных опор между стойками, на расстоянии 2500 мм от торцов штабеля и в средней части штабеля на расстоянии 4000 мм от середины каждой турникетной опоры (рисунок 34).

Рисунок 34
1- турникетная опора; 2- увязка; 3- прокладка
Штабель рельсов закрепляют на погрузочных балках (рисунок 31) прижимными балками 3, которые с помощью траверс 11 и винтов 12 плотно прижимаются к верхней плоскости штабеля рельсов. Винты затягивают равномерно на каждой траверсе и увязывают попарно проволокой диаметром 6 мм в две нити через отверстия в головках.
Штабель рельсов закрепляют тремя увязками из проволоки диаметром 6 мм в четыре нити. Увязки размещают по краям штабеля рельсов на расстоянии 900 мм от торцов и в середине (рисунок 34).
4.2.2.1 При погрузке и выгрузке рельсов необходимо обеспечить сохранность турникетных опор, устройств крепления груза и подвижного состава.
Для выгрузки рельсов, снятие крепежных устройств производят в обратном порядке. Удаляют проволочную увязку винтов, последние вывинчивают и снимают вместе с траверсами. Поднимают за рым-болты прижимные балки.
Выгрузку рельсов осуществляют с соблюдением действующих правил техники безопасности на погрузочно-разгрузочных работах. При повреждении турникетов, подвижного состава, утере деталей — грузополучатель несет материальную ответственность.
После завершения выгрузки в стойки турникетных опор устанавливают и закрепляют винтами и траверсами прижимные балки.
От возможных перемещений в пути следования погрузочную балку закрепляют к раме турникетной опоры (основанию) штырями-фиксаторами.
4.2.2.2 Надзор, техническое обслуживание и ремонт турникетных устройств выполняет его владелец согласно правил эксплуатации и ремонта (ТВ66 РЭ).
Продолжение инструкции: