4.3 Турникет типа ЦНИИ МПС
4.3.1 Характеристика турникета типа ЦНИИ МПС
Таблица 7
|
Наименование |
№ рабочего проекта |
|
|
|
1797 |
1943 |
|
Грузоподъемность, т |
85 |
110 |
|
Масса одной турникетной опоры, т |
2,82 |
4,38 |
|
База, мм |
1725 |
3240 |
|
Ширина, мм |
2760 |
2760 |
Рабочие проекты № 1797 и 1943 СКБ Главмостостроя Минтрансстроя СССР. Адрес калькодержателя: Московский городской центр научно-технической информации и пропаганды (101820, г. Москва, Центр, проезд Серова, 1).
При проверке габаритности и определении степени негабаритности погрузки расчетная длина груза принимается больше фактической с каждой торцовой стороны на 400 мм, а расчетная высота — на 100 мм.
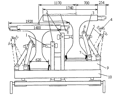
Каждая турникетная опора (рисунок 35) состоит из верхней 1, промежуточной 10 и нижней рам 9, боковых скользунов 2, сферических подпятников 5 и пятника 6, шкворня 7, продольных 8 и поперечных 4 упоров элементов усиления продольных упоров 11, ограничителей хода верхней рамы 12, боковых скоб 3 для установки фиксаторов — деревянных стоек. Промежуточная и верхняя рамы имеют наклонные и горизонтальные поверхности скольжения. Турникетную опору на платформе закрепляют с помощью продольных и поперечных упоров.

Рисунок 35 Турникетная опора типа ЦНИИ МПС
1- верхняя рама; 2- боковые скользуны; 3- боковые скобы; 4- поперечные упоры; 5- сферический подпятник; 6- пятник; 7- шкворень; 8- продольные упоры; 9- нижняя рама; 10- промежуточная рама; 11- элементы усиления упоров; 12- ограничитель хода
Перед погрузкой верхнюю и нижнюю рамы каждой турникетной опоры с обеих сторон закрепляют фиксаторами — деревянными стойками — сечением 30х50 мм, которые вставляют в боковые скобы верхней и нижней рам, выполненные из швеллеров № 6; 5. Фиксаторы устанавливают для того, чтобы во время погрузки верхняя рама не смещалась относительно промежуточной. После окончания погрузки фиксаторы-стойки должны быть сняты.
4.3.2 Железобетонные балки пролетных строений автодорожных мостов длиной 24 м размещают на сцеп из двух платформ с использованием турникетов типа ЦНИИ МПС, рабочий проект № 1797 СКБ Главмостостроя Минтрансстроя (таблица 7) со специальными металлическими приспособлениями, рабочий проект № 1898 ПКБ ЦНИИС Минтрансстроя (адрес ПКБ: 129329, г.Москва, Игарский проезд, 2).
Для транспортировки балок на сцепе из двух платформ применяют две одинаковых турникетных опоры со специальными приспособлениями для крепления груза. К верхним рамам турникетных опор для обеспечения поперечной устойчивости балок прикреплены кронштейны 2 и подкосы 3, 4, а также подставка 9 для размещения одной балки на более высоком уровне (рисунок 36).

Рисунок 36
1- упор; 2-кронштейн; 3,4- подкосы в рабочем и нерабочем положениях; 5,6- нижнее и верхнее отверстия для болта; 7- деревянный вкладыш; 8- увязка балок; 9- подставка; 10- верхняя рама турникетной опоры
Грузоотправитель обязан проверить соответствие турникетов проекту № 1797 и приспособлений — проекту № 1898. При установке турникетных опор на платформы (рисунок 37) необходимо, чтобы продольные упоры нижних рам вошли в третьи пары стоечных скоб (от торцов сцепа) и прилегали к их стенкам, обращенным к середине сцепа, а поперечные упоры находились с внешней стороны армирующих уголков пола платформы.

Рисунок 37
-
продольные упоры; 2- поперечные упоры; 3- фиксатор; 4- блок-противовес; 5- балка; 6- растяжка с натяжным устройством; 7,8- поперечные и продольные крепления;
9- проволочные растяжки
4.3.2.1 Железобетонные балки автодорожных мостов, могут быть двух типов: крайними, имеющими выпуск арматуры с одной стороны верхней части балки, и промежуточными с выпусками арматуры с двух сторон (рисунок 36). Длина балки должна быть 24 м, высота 1200 мм, ширина нижнего пояса 620 мм, ширина верхней части с выпусками арматуры 1928 мм, а по бетону у крайних балок 1740 мм, промежуточных 1400 мм. Допускаются отклонения длины и ширины балок до 5 мм.
Масса промежуточной балки 33 -34 т, крайней – 36 -37 т.
На сцеп грузят две промежуточные или одну промежуточную, и одну крайнюю балки (рисунок 37). Последняя должна размещаться только на подставке. Каждую балку устанавливают обязательно на среднюю и две крайние деревянные подкладки (рисунок 38) высотой 80…100 мм, уложенные в гнезда верхней рамы.

Рисунок 38
1 – подставка; 2- средние подкладки; 3- крайние подкладки
Балки на сцепе от поперечных перемещений закрепляют с помощью упоров с винтовой резьбой (рисунок 36). Упоры закреплены на кронштейнах и треногих подкосах.
От продольных перемещений каждую балку с обоих торцов закрепляют к верхней раме турникетной опоры с помощью приспособления, состоящего из двух растяжек с винтовым натяжным устройством (рисунок 39), уголка и подвески с запорным устройством (рисунок 40), а также растяжки с болтами.
|
|
|
Рисунок 39 Рисунок 40
|
1 – растяжка торцовая; 2- натяжное устройство; 3 – уголок; 4 – подвеска; 5 – запорное устройство подвески; 6 – растяжка с болтом; 7 – увязка балок; 8 – монтажная петля |
1 – клин в рабочем положении; 2 – клин в нерабочем положении; 3 – валик; 4 – прижимные планки; 5- накидные уголки в рабочем положении |
Для предупреждения самораскручивания все резьбовые соединения должны иметь контргайки или шплинты.
4.3.2.2 Погрузка балок осуществляется в следующем порядке. При отведенных в стороны подкосах (рисунок 36) балку опускают на турникетные опоры и устанавливают между основаниями кронштейна и подкоса.
Установив балку и не снимая стропов, ее закрепляют: треногий подкос переводят в рабочее положение. При этом болт подкоса переставляют из нижнего в верхнее отверстие, завинчивают гайку, шплинтуют и с помощью стопорных винтов прижимают упоры вплотную к обеим сторонам стенки балки.
Аналогично устанавливают на подставки турникетных опор вторую балку и закрепляют стопорными винтами.
Балки закрепляют деревянными вкладышами, укладываемыми в распор между балками и основаниями кронштейна и подкоса, растяжками и торцовыми приспособлениями. Каждый вкладыш закрепляют четырьмя гвоздями через отверстия в ребре основания подкоса.
При установке торцового приспособления под нижнюю грань торцовой части балки подводят угол (рисунок 39) и закрепляют его с помощью подвески, которую накидывают на балку и фиксируют запорным устройством (рисунок 40). Затем натягивают растяжки.
Погруженные и закрепленные балки увязывают между собой за монтажные петли (рисунки 36 и 39) растяжками из проволоки диаметром 6 мм в шесть нитей.
4.3.2.3 Для равномерной загрузки платформ над их тележками, обращенными к середине сцепа, симметрично относительно продольной плоскости симметрии платформ укладывают железобетонные блоки-противовесы (рисунки 37 и 41) массой 8 т.

Рисунок 41-Блок- противовес
1, 7- поперечная упорная балка; 2- штырь; 3- растяжка; 4- стойка; 5- распорная балка;
6- скоба
От продольного смещения блоки-противовесы закрепляют металлическими упорными балками 1 и 7 и распорными балками 5, а также проволочными растяжками 3.
Упорные балки 1 и 7 изготовляют в виде коробки из швеллера № 22 и стальной полосы шириной 210 мм, толщиной 8 мм, а распорные балки — из швеллера № 14. К упорным балкам закрепляют электросваркой штыри. Штыри упорной балки 1 входят в две торцовые скобы платформы, а штыри упорной балки 7 – в две боковые скобы платформы. Каждый блок закрепляют четырьмя растяжками 3 из проволоки диаметром 6 мм в восемь нитей, которые увязывают за монтажные петли блоков и стоечные скобы платформ. Поперечное ограждение блоков осуществляют металлическими стойками 4 , установленными в боковые стоечные скобы платформ.
4.3.3 Металлические балки мостовых кранов длиной до 44 м включительно размещают на сцепах из платформ с базой 9720 мм с использованием турникета типа ЦНИИ МПС (рисунок 35), рабочий проект № 1797 СКБ Главмостостроя Минтрансстроя (таблица 7).
Для размещения и крепления балок на сцепе платформ применяют две одинаковые турникетные опоры. Грузоотправитель обязан проверить соответствие конструкции турникетов проекту № 1797, а также соблюдать правила эксплуатации, изложенные в документации проекта.
Для крепления балок к турникету верхние рамы турникетных опор оборудуют опорными листами размерами 440х1050 мм, толщиной 12 мм (рисунок 42).

Рисунок 42
1- опорные листы; 2- ребра жесткости; 3- отверстия для болтов
Каждый опорный лист имеет 18 отверстий диаметром 31 мм, расположенных в два ряда. Расстояние от боковой кромки листа до отверстия 50-60 мм, а между отверстиями 120 мм. Опорные листы приваривают к верхней раме турникетной опоры по всему контуру прилегания сварным швом катетом 8 мм. Между опорными листами и верхней рамой турникетной опоры устанавливают ребра жесткости толщиной 12 мм, которые приваривают к опорному листу и к листу верхней рамы турникетной опоры.
Для перевозки балок мостовых кранов турникетную опору на грузонесущей платформе сцепа устанавливают так, чтобы ее продольные упоры входили в отверстия одной из пар стоечных скоб, расположенных в середине платформ (рисунки 43а,б и 44а, б).


Рисунок 43
а- размещение балок на сцепах с базой 13,54 м; б- то же с базой 15,7 м

Рисунок 44
а- размещение балок на сцепах с базой 27,08 м; б- то же с базой 30,32 м
В этом случае турникетная опора будет смещена от поперечной плоскости симметрии платформы внутрь или наружу сцепа на 540 или 1080 мм, а база сцепа соответственно может составлять:
для двух платформ при смещении центра тяжести турникетной опоры на 540 мм внутрь сцепа 13, 54 м, при смещении наружу сцепа 15,7 м;
для трех платформ при смещении центра тяжести турникетной опоры на 1080мм внутрь сцепа 27,08 м, при смещении на 540 мм наружу сцепа 30,32 м.
Балки мостовых кранов могут иметь массу от 20 до 51 т, длину от 22 до 44 м, имеют коробчатое прямоугольное сечение. На них может быть смонтировано вспомогательное оборудование (редукторы, настилы и др.).
В целях лучшего использования грузоподъемности железнодорожного подвижного состава балки длиной 16,0-28,0 м перевозят на сцепе из двух платформ с базой 13,54 м; длиной 28,1 -29,92 м — на сцепе из трех платформ с базой 15,7 м; длиной 30,0 -42,64 м — на сцепе из трех платформ с базой 27,08 м; длиной 42,7 -44,0 м — на сцепе из четырех платформ с базой 30,32 м. Продольное смещение центра тяжести балок в сторону прикрытия составляет 0,95 м для балок длиной 28,1 -29,92 м и 0,68 м для балок длиной 42,7 -44 м (рисунки 43а и 44а). Торцевой контур балок не должен выходить за пределы концевых балок крайних платформ сцепа, за исключением платформ прикрытия (рисунки 43а и 44а).
Поперечное смещение центра балок от продольной плоскости симметрии сцепа, допускается не более 50 мм. При этом расстояния боковых точек груза от оси пути не должны быть больше указанных в таблице 8.
Таблица 8
|
Длина груза, м |
Максимальное расстояние от оси пути до боковых точек груза при расположении на высоте, мм, от уровня головки рельса |
|||||||||||||
|
|
до 3900 |
4000 |
4100 |
4200 |
4300 |
4400 |
4500 |
4600 |
4700 |
4800 |
4900 |
5000 |
5100 |
5200 |
|
Для сцепов с базой 13,54 м |
||||||||||||||
|
16,0…23,6 23,7…25,0 25,1…26,5 26,6…28,0 |
1590 1556 1521 1481 |
1513 1479 1444 1404 |
1436 1402 1367 1327 |
1357 1323 1288 1248 |
1281 1247 1212 1172 |
1203 1169 1134 1094 |
1127 1093 1058 1018 |
1049 1015 980 940 |
972 938 903 863 |
895 861 826 786 |
818 784 749 709 |
740 706 671 631 |
662 628 593 553 |
585 551 516 476 |
|
Для сцепов с базой 15,7 м |
||||||||||||||
|
28,1…29,0 29,1…29,92 |
1451 1424 |
1374 1347 |
1297 1270 |
1218 1191 |
1142 1115 |
1064 1037 |
988 961 |
910 883 |
833 806 |
756 729 |
679 652 |
601 574 |
523 496 |
446 419 |
|
Для сцепов с базой 27,08 м |
||||||||||||||
|
30,0…40,7 40,8…41,7 41,8…42,64 |
1401 1362 1339 |
1324 1285 1263 |
1247 1208 1185 |
1168 1129 1106 |
1092 1053 1030 |
1014 975 952 |
938 899 876 |
860 821 798 |
783 744 721 |
706 667 644 |
629 590 567 |
551 512 489 |
473 434 411 |
396 357 334 |
|
Для сцепов с базой 30,32 м |
||||||||||||||
|
42,7…44,0 |
1321 |
1244 |
1167 |
1088 |
1012 |
934 |
858 |
780 |
703 |
626 |
549 |
471 |
393 |
316 |
Минимальная опорная ширина балок составляет не менее 1,75 высоты центра тяжести груза над уровнем верхней рамы турникетной опоры.
4.3.3.1 На сцепах с базой 13,54 и 27,08 м все торцовые и продольные борта платформ сцепа должны быть открыты.
На сцепах с базой 15,7 и 30,32 м также открывают торцовые и продольные борта платформ сцепа, а также торцовый и примыкающие к нему два продольных борта платформы прикрытия со стороны свесов груза.
Открытые секции боковых бортов закрепляют за кольца на продольных балках платформ, а при отсутствии колец увязывают проволокой диаметром 6 мм в соответствии с требованиями главы 1 настоящих ТУ.
4.3.3.2 При установке турникетной опоры на платформу необходимо, чтобы продольные упоры 8 (рисунок 35) турникетной опоры вошли в стоечные скобы платформы и плотно, без зазоров, прилегали к их внутренним поверхностям с наружной стороны сцепа, а поперечные упоры 4 находились с внешней стороны армирующих уголков платформы.
Перед размещением балок на опорные листы верхней рамы турникетной опоры укладывают металлические накладные листы (рисунок 45) размерами 440х(400 -450) мм и толщиной 16 мм, имеющие по четыре отверстия диаметром 31 мм.

Рисунок 45
1 – накладные листы; 2- болты с гайками и контргайками
Каждый накладной лист закрепляют к опорному листу четырьмя болтами М30 с гайками и контргайками, которые должны быть туго затянуты. Резьба болтов должна выходить за плоскость гаек на три-шесть витков. Контргайки от самораскручивания приваривают к болтам.
Крепление балок к накладным листам осуществляют сварными соединениями. Для этого в местах контактирования боковых кромок балок и накладных листов с наружной стороны сцепа наносят сварочные швы длиной не менее 260 мм с катетом 8 мм (рисунок 46).

Рисунок 46
1 – балка; 2- опорные листы; 3 – накладной лист; 4- болты М30 с гайками и контргайками; 5 – сварной шов
При погрузке сцепа для снятия балок болты, скрепляющие опорные и накладные листы, срезают и балки снимают вместе с накладными листами.
4.3.4 Железобетонные стропильные фермы длиной 24 м, высотой 3,3 м, массой 10,5-18,2 т и длиной 18 м, высотой 3,0 м, массой 7,7-11,7 т, шириной верхнего и нижнего поясов 240 и 280 мм размещают на сцепе из двух платформ с базой 9720 мм с использованием турникетов типа ЦНИИ МПС, проект № 1797 СКБ Главмостостроя и специальных приспособлений ЦНИИС и СКБ Главстройпрома Минтрансстроя, проекты №1516 для ферм длиной 24м и № 1548 для ферм длиной 18м (адрес СКБ: 119034, г. Москва, Всеволожский переулок,2).
Турникетные опоры устанавливают так, чтобы продольные упоры 8 (рисунок 35) нижних рам вошли в пятые пары стоечных скоб (рисунок 47),считая от середины сцепа, при погрузке ферм длиной 24м, и в четвертые пары стоечных скоб (рисунок 48) при погрузке ферм длиной 18м, а поперечные упоры 4 (рисунок 35) охватывали с внешней стороны пол платформы. При этом торцовые борта в середине сцепа и средние секции боковых бортов платформ должны быть в установленном порядке открыты и закреплены.

Рисунок 47
1 – турникетная опора; 2- стойка; 3 – хомут; 4 – упорный винт; 5 – стяжной болт; 6 – прокладка; 7 – ригель; 8 – стержневая растяжка; 9 – стяжная муфта; 10 – блок-противовес;
11 – проволочная растяжка; 12 – распорный брусок

Рисунок 48
1 – турникетная опора; 2- стойка; 3- хомут; 4 – упорный винт; 5 – стяжной болт; 6 – прокладка; 7- ригель; 8 – стержневая растяжка; 9 – стяжная муфта
На сцепах из двух платформ грузят один пакет ферм, которые устанавливают обязательно на подкладки (рисунок 49) высотой 60 — 80 мм, уложенные в соответствующие гнезда верхней рамы турникетной опоры.

Рисунок 49
1- средняя подкладка; 2- крайняя подкладка
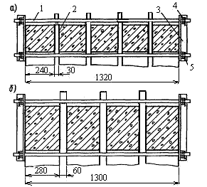
Число ферм в пакете определяется шириной поясов: при ширине пояса 240 мм в пакет устанавливают семь ферм длиной 18 м и пять -длиной 24м, при ширине пояса 280 мм — шесть ферм длиной 18 м и четыре длиной 24 м (рисунки 47 и 48).
При перевозки ферм длиной 24 м для равномерной загрузки платформ над их тележками, обращенными к середине сцепа, симметрично продольной оси платформы укладывают блоки-пригрузы 10 (рисунок 47).
4.3.4.1 Фермы грузят в следующем порядке. На средней подкладке (рисунок 48) выполняют разметку мест установки ферм и зависимости от их числа в пакете и ширины пояса. В соответствии с местоположением крайней фермы устанавливают верхний и нижний винты упоров 4 (рисунки 47 и 48). Первую (крайнюю) ферму пакета после установки ее на подкладки, не снимая стропов, временно закрепляют к стойкам 2 обоих турникетных опор с помощью инвентарных цепных или проволочных стяжек. Каждую последующую устанавливаемую ферму так же временно закрепляют к ранее установленной ферме или непосредственно к стойке. Между нижними поясами ферм над средними подкладками устанавливают вертикальные деревянные прокладки 6 сечением 30х60х120 мм, длиной 360 — 400 мм (рисунки 47 и 48).
Для обеспечения устойчивости ферм их соединяют в пакет с помощью четырех (трех) хомутов 3 (рисунки 47 и 48) и прокладок сечением 30х60х120 мм, длиной 400…450 мм, при этом верхний болт 1 хомута должен проходить через прокладки 2 (рисунки 50 и 51), для чего в последних заранее сверлят соответствующие отверстия.

Рисунок 50
а- соединение ферм длиной 24 м в пакеты с поясами шириной 240 мм; б- то же с поясами шириной 280 мм;
1 — стяжной болт (шпилька); 2- прокладка; 3- накладка (уголок); 4- контргайка; 5- шплинт

Рисунок 51
а- соединение ферм длиной 18 м в пакеты с поясами шириной 240 мм; б- то же с поясами шириной 280 мм;
1- стяжной болт (шпилька); 2- прокладка; 3- накладка (уголок); 4- контргайка; 5- шплинт
После соединения пакета его закрепляют от опрокидывания и смещения в поперечном направлении путем прижатия нижних и верхних упорных винтов 4 стоек 2, и установки двух стяжных болтов 5 и прокладок 6 сверху пакета ферм (рисунки 47 и 48). Стяжные болты 5 так же, как и верхние болты (шпильки) хомутов, должны проходить через прокладки (рисунки 50 и 51). При этом болты (шпильки) должны закрепляться гайками и контргайками 4 со шплинтами 5 (рисунки 50 и 51). В продольном направлении пакет ферм закрепляют к верхним рамам турникетных опор с помощью четырех ригелей 7 и четырех пар стержневых растяжек 8 (рисунки 47 и 51). Длина растяжек регулируется стяжными муфтами 9.
Блоки-противовесы 10 выполняют в виде двух железобетонных блоков размерами 400х450х3700 мм (общая масса 3,3 т). На каждую платформу сцепа устанавливают два блока вплотную к крайним секциям боковых бортов (рисунок 47) и закрепляют их двумя парами растяжек 11 в четыре нити проволоки диаметром 6 мм. Между блоками-противовесами устанавливают по месту деревянные распорные бруски 12 сечением 50х100 мм, которые прикрепляют к полу платформы пятью гвоздями длинной не менее 100 мм.
4.3.4.2 При использовании арендованных платформ и применении противовеса, в случае перевозки ферм длинной 24 м, возврат турникетных устройств производят без их демонтажа, на том же сцепе платформ (рисунок 52) , при этом верхнюю раму турникетной опоры закрепляют к нижней раме или платформе с помощью двух пар растяжек 7 в четыре нити проволоки диаметром 6 мм, а ригели и стержневые растяжки 3 закрепляют деревянными брусками 6, прибитыми к полу платформ 10-ю гвоздями длиной 125 -150 мм.

Рисунок 52
1- турникет; 2- стойка; 3- стержневая растяжка; 4- блок-противовес; 5- проволочная растяжка; 6- брусок; 7- проволочная растяжка; 8- распорный брусок
4.3.4.3 Надзор, техническое обслуживание и ремонт турникетных устройств выполняет грузоотправитель согласно нормативно-технической документации на турникетные устройства.
4.4 Турникет ТИПА ГИПРОСТРОЙМОСТ
4.4.1 Характеристика турникета типа Гипростроймост
Грузоподъёмность, т — 80
Масса турникета (комплект), т — 6,5
База, мм — 3000
Ширина, мм — 3110
Рабочий проект № 15841 института Гипростроймост. Адрес: 129278 Москва, ул. П.Корчагина,2.
Каждая турникетная опора состоит из нижней 1 , промежуточной 2 и верхней 3 рам (рисунок 53).


Рисунок 53 Турникетная опора типа Гипростроймост
1,2,3- нижняя, промежуточная и верхняя рамы турникетной опоры соответственно; 4,5- продольный и поперечный упоры; 6-дугообразная поверхность скольжения; 7- скользун; 8- поперечная ось; 9-подпятник; 10- шкворень; 11-пятник
Нижняя рама имеет продольные упоры 4, которые при установке турникетной опоры вставляют в стоечные скобы платформы , и поперечные упоры 5, которые охватывают платформу снаружи. На продольных балках рамы имеется по два выреза и дугообразные поверхности скольжения 6.
Промежуточная рама имеет четыре цапфы со скользунами 7, которые могут перемещаться по поверхности скольжения 6. В средней части промежуточной рамы на горизонтальной поперечной оси 8 установлен подпятник 9 со шкворнем 10. Эта ось позволяет сцепу вписываться в вертикальные переломы профиля.
Верхняя рама опирается на промежуточную раму посредством пятника 11. Верхняя рама турникетной опоры оснащена специальными устройствами института Гипростроймост для размещения и крепления груза: рабочие проекты № 6651- для балок длиной 33 м и № 6648- для балок длиной 24 м.
При проверке габаритности и определении степени негабаритности погрузки расчётная длина груза принимается больше фактической с каждой торцовой стороны на 500 мм, а расчётная высота на 100 мм.
Перед установкой турникетных опор пол платформы очищают от снега, льда, мусора и грязи. В зимнее время, очищенное место опирания турникета посыпают сухим песком.
С целью повышения коэффициента трения между подкладками турникетных опор и полом платформы, в местах опирания, уложить шлифовальную шкурку на тканевой основе со шлифзерном № 20 — 200, сложенной вдвое, причем таким образом, чтобы абразивные слои находились с внешних сторон. Допускается применение вместо шлифовальной шкурки куска транспортерной ленты толщиной 6 -8 мм.
Все борта платформ сцепа открывают и закрепляют в соответствии с главой 1 настоящих ТУ.
Перед погрузкой грузоотправитель проверяет исправность турникетов и комплектов крепления, о чем делается отметка в журнале осмотра в соответствии с руководством по эксплуатации турникетов. В исходном состоянии захваты и зажимы находятся в раскрытом положении, резиновые плиты опорных площадок и боковых упоров очищают от следов смазки.
4.4.2 Железобетонные мостовые балки длиной 33 м и балки длиной 24 м (промежуточные Пр-24Г-9ук и крайне Кр-24Г-9ук), изготовленные по типовым проектом № 384/46 и 1318 «Унифицированные сборные и пролётные строения из предварительно напряженного железобетона для мостов и путепроводов на автомобильных и городских дорогах», разработанные ГПИ «Союздорпроект», перевозят на сцепах из трёх и двух платформ соответственно (рисунки 54 и 55) с использованием турникетов типа Гипростроймост Минтрансстроя СССР.

Рисунок 54

Рисунок 55
4.4.2.1 Для перевозки указанных балок длиной 33 м турникетные опоры располагают так, что продольные упоры вошли в средние стоечные скобы крайних платформ, а для балок длиной 24 м — в третьи от торца сцепа стоечные скобы. Поперечные упоры должны охватывать платформы снаружи.
Балку размещают и закрепляют на верхних рамах турникетных опор с помощью специальных устройств (рисунки 56,58,59), состоящих из вертикальных направляющих 14, установленных в средней части верхней рамы.

Рисунок 56
1,2,3- нижняя, промежуточная и верхняя рамы; 4,5- продольный и поперечный упоры; 6- направляющая скользуна; 7-скользун; 14- вертикальные направляющие; 15- клещевой захват; 16- поворотный зажим
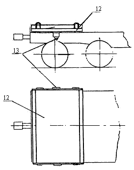
В крайних сечениях верхней рамы на горизонтальных осях смонтированы клещевые захваты 15 (рисунок 58)и поворотные зажимы 16 (рисунок 56). Захваты и зажимы имеют опорные площадки 17 и боковые упоры 18 облицованные резиновыми плитками (рисунок 58). При установке турникетных опор захваты 15 должны находиться с внешней стороны сцепа. При погрузке мостовую балку опускают подошвой на опорные площадки 17 захватов 15 и зажимов 16. Под действием веса мостовой балки захваты и зажимы поворачиваются, обжимая балку с боков, и развивают силы трения, достаточные для держания балки.
Разгрузка осуществляется в обратном порядке.
4.4.2.2 Для перевозки указанных балок длиной 24 м железобетонные противовесы 12 массой 6,5 т (рисунок 57), имеющие боковые упоры 13 для продольного и поперечного крепления, устанавливают в торцах платформ в средней части сцепа, пропуская боковые упоры в первые от торца платформы стоечные скобы.

Рисунок 57
12- железобетонный противовес; 13- боковые упоры
Балки размещают и закрепляют на турникетных опорах с помощью специальных устройств, состоящих из вертикальных направляющих 14 (рисунок 56), установленных в средней части верхней рамы. В крайних сечениях верхней рамы на продольных горизонтальных осях смонтированы клещевые захваты 15 и поворотные зажимы 16 (рисунок 56). Причём, для одной мостовой балки эти устройства смонтированы на более низком уровне, а для другой балки они приподняты и располагаются на специальных тумбах 19 (рисунки 58 и 59). Захваты и зажимы имеют опорные площадки 17 и боковые упоры 18 облицованные резиновыми плитами. При установке турникетов захваты 15 должны находиться с внешней стороны сцепа.

Рисунок 58
1- нижняя рама; 3- верхняя рама; 4,5- продольный и поперечный упоры; 14- вертикальные направляющие; 15- клещевые захваты; 17- опорные площадки; 18- боковые упоры

Рисунок 59
1,3- нижняя и верхняя рамы; 4,5- продольный и поперечный упоры; 14 – вертикальные направляющие; 15 – клещевые захваты; 19- тумба
При погрузке мостовую балку опускают подошвой на опорные площадки 17 захватов 15 и зажимов 16 (рисунок 58). Под действием веса мостовой балки захваты и зажимы поворачиваются, обжимая балку с боков, и развивают силы трения, достаточные для удержания балки.
На сцепе размещают промежуточные мостовые балки Пр-24Г-9ук. Допускается размещение одной промежуточной мостовой балки Пр-24Г-9ук и одной крайней балки Кр-24Г-9ук. При этом крайнюю балку Кр-24Г-9 ук устанавливают таким образом, чтобы арматурные выпуски на верхней плите были направлены наружу.
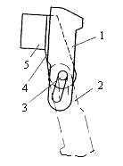
4.4.2.3 При возврате порожних турникетных опор фиксаторы 20 верхней рамы закрепляют на промежуточной раме затворами 21 (рисунок 60). Рукоятки затворов закрепляют проволокой диаметром 3-4 мм, скрученной в один оборот.

Рисунок 60
1,2,3- нижняя, промежуточная и верхняя рамы; 20- фиксатор; 21- затвор
Турникетные опоры и противовесы, установленные на собственных платформах грузоотправителя, возвращаются без снятия, на этих же платформах. Турникетные опоры и противовесы установленные на платформах парка МПС России должны быть сняты и установлены вместе на одну платформу для возврата (рисунок 61).
Р
исунок 61
12- железобетонные противовесы


