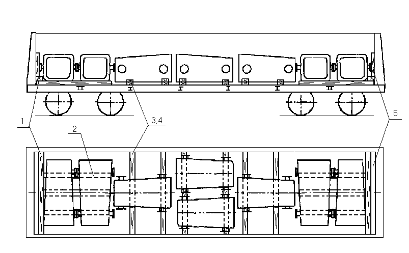
6.2.2 Изложницы массой свыше 1,5 т до 4,6 т включительно в количестве 15 шт. размещают симметрично относительно продольной и поперечной плоскостей симметрии платформы (рисунок 74): поперек платформы 11 шт, вдоль платформы 4 шт.

Рисунок 74
1 — торцовая стойка; 2 — упорный брусок; 3, 6 — распорный брусок; 4 — увязка;
5- растяжка; 7 — гвоздь; 8 — боковая стойка
Изложницы размещают на расстоянии от 400 до 500 мм включительно от торцовых бортов платформы. Вдоль торцовых бортов укладывают упорные бруски 2 сечением 100х100 мм и длиной, равной ширине платформы. Между упорными брусками 2 и крайними изложницами укладывают по два распорных бруска 3 сечением 100х100 мм и длиной по месту, которые закрепляют к полу пятью гвоздями 7 длиной 150 мм и диаметром 6 мм. Упорный брусок 2 скрепляют с распорными брусками 3 строительными скобами из прутка диаметром 10 мм.
Изложницы скрепляют между собой увязками 4 из проволоки диаметром 6 мм в две нити. От продольного смещения изложницы закрепляют восемью парами растяжек 5 из проволоки диаметром 6 мм в шесть нитей за цапфы изложниц и стоечные скобы платформы.
От поперечного смещения среднюю и крайние от торцов платформы изложницы закрепляют распорными брусками 6 сечением 50х100мм и длиной по месту, которые закрепляют к полу четырьмя гвоздями 7 длиной 100 мм и диаметром 6 мм.
Торцовые борта и секции продольных бортов платформы укрепляют деревянными стойками 1 и 8 соответственно.
6.2.3 Изложницы массой свыше 4,6 т до 6,7 т включительно размещают поперек платформы вплотную друг к другу, симметрично относительно продольной и поперечной плоскостей симметрии (рисунок 75). Вдоль торцовых бортов укладывают упорные бруски 2 сечением 100х100 мм и длиной, равной ширине платформы. Между крайними изложницами и упорными брусками 2 устанавливают по два распорных бруса 3 сечением 100х150мм и длиной по месту, каждый из которых закрепляют к полу пятью гвоздями длиной 150мм и диаметром 6 мм. Упорный брусок 2 скрепляют с распорными брусками 3 строительными скобами из прутка диаметром 10 мм. Крайние и третьи от торцов изложницы скрепляют между собой за цапфы увязками 4 из проволоки диаметром 6 мм в шесть нитей. От продольного смещения изложницы закрепляют восемью парами растяжек 5 из проволоки диаметром 6 мм в шесть нитей за цапфы изложниц и стоечные скобы. От поперечного смещения каждую изложницу закрепляют двумя распорными брусками 6 сечением не менее 60х100 мм и длиной по месту, каждый из которых закрепляют к полу пятью гвоздями длиной 110 мм и диаметром 6 мм. Торцовые борта платформы укрепляют короткими деревянными стойками 1.

Рисунок 75
1 — торцовая стойка; 2 — упорный брусок; 3, 6 — распорный брусок;
4 — увязка; растяжка
6.2.4 Изложницы массой свыше 6,7 до 12,5 т включительно размещают на платформе симметрично относительно продольной и поперечной плоскостей симметрии (рисунки 76, 77). Вдоль торцовых бортов платформы на пол укладывают упорные бруски 2 размерами 100х100х2750мм. Между упорным бруском 2 и крайней изложницей укладывают по два распорных бруска 3 сечением 100х100 мм. Распорные и упорные бруски скрепляют между собой скобами 9 из прутка диаметром 10 мм, а между собой распорные бруски 3 скрепляют соединительными планками 4 сечением 25х100 мм и длиной равной ширине платформы, которые закрепляют двумя гвоздями 8 длиной 80-100 мм и диаметром 6 мм на каждый распорный брусок. Изложницы скрепляют между собой с двух сторон за цапфы увязкой 6 из проволоки диаметром 6 мм в четыре нити. От продольного смещения изложницы закрепляют восемью парами растяжек 7 из проволоки диаметром 6 мм в шесть нитей за цапфы изложниц и боковые стоечные скобы платформы. От поперечного смещения каждую изложницу закрепляют двумя парами распорных брусков 5 сечением не менее 60х100 мм и длиной по месту, каждый из которых закрепляют к полу пятью гвоздями 8 длиной 110 мм и диаметром 6 мм. Торцовые борта платформы укрепляют короткими деревянными стойками 1.

Рисунок 76
1 — торцовая стойка; 2 — упорный брусок; 3, 5 — распорный брусок;
4 — соединительная планка; 6 — увязка; 7 — растяжка; 8 — гвоздь; 9 — скоба

Рисунок 77
1 — торцовая стойка; 2 — упорный брусок; 3, 5 — распорный брусок;
4 — соединительная планка; 6 — увязка; 7 — растяжка; 8 — гвоздь; 9 — скоба
6.2.5 Изложницы, имеющие форму усеченного конуса размещают вдоль хребтовой балки вплотную друг к другу симметрично относительно продольной и поперечной плоскостей симметрии платформы (рисунки 78, 79). Торцовые борта платформы укрепляют короткими деревянными торцовыми стойками 1. Вдоль торцовых бортов укладывают упорные бруски 2 размерами 100х100х2750мм. Между упорным бруском 2 и крайней изложницей укладывают на расстоянии от 150 до 200 мм включительно друг от друга два распорных бруска 3 сечением 100х150 мм. Каждый распорный брусок 3 скрепляют с упорным бруском 2 скобами 9 из прутка диаметром 10 мм, а между собой распорные бруски 3 скрепляют соединительными планками 4 сечением 25х100 мм и длиной равной ширине платформы, которые закрепляют двумя гвоздями 8 длиной от 80 до 100 мм включительно и диаметром 6 мм на каждый распорный брусок. От продольного смещения изложницы закрепляют восемью парами растяжек 7 в шесть нитей из проволоки диаметром 6 мм за верхние цапфы и боковые скобы платформы. Между собой изложницы скрепляют за нижние цапфы двумя увязками 6 из проволоки диаметром 6 мм в четыре нити. От поперечного смещения каждую изложницу закрепляют двумя парами распорных брусков 5 сечением 50х100 мм и длиной по месту. Каждый брусок закрепляют пятью гвоздями 8 длиной 100 мм и диаметром 6 мм.

Рисунок 78
1 — торцовая стойка; 2 — упорный брусок; 3, 5 — распорный брусок;
4 — соединительная планка; 6 — увязка; 7 — растяжка; 8 — гвоздь; 9 — скоба

Рисунок 79
1 — торцовая стойка; 2 — упорный брусок; 3, 5 — распорный брусок;
4 — соединительная планка; 6 — увязка; 7 — растяжка; 8 — гвоздь; 9 — скоба
6.3 Размещение и крепление изложниц в полувагонах
6.3.1 Изложницы массой 8,5 т в количестве 7-8 шт размещают группами (рисунки 80, 81) симметрично относительно продольной и поперечной плоскостей симметрии полувагона. У торцовых дверей с каждой стороны полувагона укладывают по упорному бруску 1 сечением 100х150 мм и длиной, равной внутренней ширине полувагона. Вплотную к этим брускам укладывают по две изложницы поперек полувагона, располагая их на трех продольных подкладках 2 сечением не менее 30х150 мм и длиной от 2000 до 2200 мм включительно. Среднюю подкладку 2 располагают над хребтовой балкой, а крайние — посередине крышек люков. Изложницы средней группы устанавливают вдоль полувагона на две поперечные подкладки 3 сечением не менее 30х150 мм и длиной, равной ширине полувагона, которые располагают на поперечных балках и между гофрами крышек люков.

Рисунок 80
1-упорный брусок;2-продольная подкладка; 3-поперечная подкладка;4-распорный брусок;
5-торцовый щит

Рисунок 81
1-упорный брусок; 2-продольная подкладка; 3-поперечная подкладка; 4-распорный брусок;
5-торцовый щит
Допускается в середине полувагона устанавливать две изложницы (рисунок 81).
От поперечного смещения изложницы средней группы закрепляют распорными брусками 4 сечением не менее 50х150 мм и длиной по месту. Распорные бруски 4 размещают на поперечных подкладках 3 и закрепляют к ним тремя гвоздями длиной 80 мм.
Торцовые двери полувагона ограждают щитами (рисунок 1).
6.3.2 Изложницы массой от 14 до 16 т включительно размещают вдоль полувагона симметрично относительно продольной и поперечной плоскостей симметрии (рисунок 82). Изложницы устанавливают на поперечные подкладки 1 сечением не менее 50х150 мм и длиной, равной ширине полувагона.

Рисунок 82
1 – поперечная подкладка; 2, 3 — распорный брусок; 4 — упорный брусок
Между каждым торцовым порожком и изложницей укладывают упорный брусок 4 сечением не менее 100х100 мм и длиной, равной ширине полувагона.
От поперечного смещения каждую изложницу закрепляют двумя парами распорных брусков 3 сечением не менее 50х100 мм и длиной по месту, которые закрепляют к подкладкам 1 тремя гвоздями длиной 100 мм.
От продольного смещения изложницы закрепляют распорными брусками 2 сечением не менее 100х100 мм и длиной, равной зазору между средними изложницами. Распорные бруски 2 закрепляют двумя поперечными соединительными планками сечением не менее 25х100 мм и длиной, равной ширине полувагона, которые и закрепляют к брускам двумя гвоздями длиной от 100 до 120 мм включительно.