3.4.4.На четырехосных платформах допускается перевозить пакеты пиломатериалов длиной 3 м и более. Платформу оборудуют боковыми стойками в соответствии с требованиями пунктов 1.4 и 1.5 настоящей главы. Пакеты размещают без подкладок и прокладок до высоты боковых стоек и закрепляют порядком, предусмотренным для непакетированных пиломатериалов (рисунок 41). Пакеты «шапок» размещают и закрепляют тем же способом, как и в полувагонах.

Рисунок 41
3.4.5.Размещение и крепление пакетов деревянных пропитанных (непропитанных) шпал длиной 2,75 м (ГОСТ 78).
Для формирования пакетов шпал используют стропы ПС-04 и ПС-05. Пакеты формируют в карманах-накопителях. Стропы на пакетах должны быть плотно затянуты. Пакеты должны быть сформированы только из пропитанных или только из непропитанных шпал. В исключительных случаях допускается формирование пакетов нижнего яруса штабеля непосредственно в полувагоне. Каждый пакет обвязывают двумя стропами одного типа, которые размещают на расстояниях от торцов, равных 0,6-0,7 м.
3.4.6.Размещение пакетов деревянных шпал в пределах зонального габарита погрузки производят только в полувагонах.
Количество шпал в пакете, сформированном с использованием стропов ПС-05 из подсортированных по типам шпал за исключением шпал из лиственницы, не должно превышать указанного в таблице 5.
Таблица 5
|
Тип шпал |
Число шпал в ярусах пакета, шт |
Число ярусов пакета, шт |
|
I |
10 |
9 |
|
II |
11 |
10 |
|
III |
11 |
10 |
Шпалы из лиственницы, независимо от их типа, укладывают в пакет в количестве, не превышающем 90 штук (девять ярусов по 10 шпал).
Количество шпал в пакете, сформированном без подсортировки по типам независимо от породы древесины, не должно превышать 90 штук (девять ярусов по 10 шпал).
Количество шпал в пакетах, размещенных в одном вагоне, должно быть одинаковым.
Формирование пакетов шпал с использованием стропов типа ПС-04 осуществляют с учетом породы древесины, из которых они изготовлены.
Количество шпал в пакете не должно превышать указанного в таблице 6.
Таблица 6
|
Порода древесины |
Число шпал в ярусе пакета, шт |
Число ярусов пакета, шт |
|
Береза |
10 |
8 |
|
Ель, сосна |
10 |
9 |
|
Совместно ель, сосна, береза |
10 |
8 |
Запрещается использование стропов типа ПС-04 для пакетирования шпал из лиственницы.
При формировании пакетов шпал с использованием стропов ПС-04 масса пакета не должна превышать 6 т.
Шпалы в пакетах размещают на нижнюю пласть.
Пакеты шпал размещают в полувагоне четырьмя штабелями по длине двумя ярусами по высоте. Торцовые двери (стены) полувагона ограждают щитами.
Щит (рисунок 42) формируют из 10-12 вертикально установленных шпал 1, скрепленных тремя досками 2, имеющих сечение 40х150-200 мм. Доски крепят к шпалам гвоздями диаметром 5-6 мм и длиной 150 мм.

Рисунок 42
1 – шпала; 2 – доска; 3 – увязка
Нижней доской шпалы щита скрепляют со стороны пакетов. Верхние доски скрепляют между собой увязками 3, пропущенными между шпалами. Увязка состоит из проволоки диаметром не менее 4 мм в один оборот, с закруткой ее концов в три витка.
В полувагон с внутренней длиной кузова 12088 мм (рисунок 43) у торцовых дверей (стен) вагона укладывают друг на друга по 6-8 шпал 3 каждая на боковую сторону нижней пластью к пакетам. Вплотную к ним на пол вагона укладывают друг на друга три шпалы 4 типа I и (или) II нижней пластью вниз для установки щита. Вплотную к этим шпалам ставят пакеты нижнего яруса и щиты 2. На пакеты нижнего яруса устанавливают четыре пакета верхнего яруса.

Рисунок 43
1 – пакет; 2 — щит; 3, 4 – шпалы;
В полувагоне с внутренней длиной кузова 12700 мм (рисунок 44) размещение пакетов шпал производят в аналогичном порядке.

Рисунок 44
1 – пакет; 2 — щит; 3, 4, 5 – шпалы
При этом после установки пакетов нижних ярусов вплотную к ним укладывают три шпалы 4 нижней пластью вниз, на которые устанавливают второй щит 2. Пространство между этим щитом и торцовой стеной заполняют шпалами 5, уложенными друг на друга нижней пластью вниз до высоты на 200-250 мм ниже верхней обвязки кузова вагона.
3.4.7.При размещении пакетов шпал в пределах основного габарита погрузки количество шпал в пакетах не должно превышать:
-
для пакетов, сформированных с использованием стропов ПС-05 – количества, указанного в таблице 7;
-
для пакетов, сформированных с использованием стропов ПС-04 – 70 штук (7 ярусов по 10 шпал).
Таблица 7
|
Тип шпал |
Число шпал в ярусах пакета, шт |
Число ярусов пакета, шт |
|
I |
10 |
7 |
|
II |
11 |
8 |
|
III |
11 |
9 |
Размещение пакетов шпал в полувагоне осуществляется порядком, аналогичным изложенному в подпункте 3.4.4. настоящей главы без установки шпал 4.
3.4.8.Пиломатериалы в пакетах, сформированных с использованием брусково-проволочной обвязки
3.4.8.1Обвязка состоит из верхнего и нижнего деревянных брусков 1 сечением не менее 50х100 мм и двух стяжек 2 из проволоки диаметром 6 мм в две нити, скрепляющих эти бруски по концам (рисунок 45).

Рисунок 45
Бруски укладывают поперек пакета пиломатериалов таким образом, чтобы их концы выступали на 50 мм за боковые поверхности пакета. По концам брусков на расстоянии не менее 25 мм от торцов делают зарубки глубиной от 10 – 12 мм для закрепления проволочных увязок.
3.4.8.2.Пакеты из пиломатериалов формируют в соответствии с требованиями ГОСТ 19041 и ГОСТ 21100, а также подпункта 3.4.1.1 настоящей главы. Скрепление единиц пиломатериала верхнего яруса пакета «шапки» досками не производят. Пакеты пиломатериалов длиной до 4 м включительно скрепляют двумя обвязками; пакеты длиной от 4 до 6,5 м включительно – тремя обвязками. Две крайние обвязки размещают на расстоянии от 300 до 900 мм от концов пакета, а третью – посередине пакета.
Пакеты из пиломатериалов размещают несколькими штабелями по длине вагона вплотную друг к другу (рисунок 46).

Рисунок 46
1 – верхнее скрепление стоек; 2 – стойка; 3 – доска; 4 – соединительная доска; 5 – удлиненная прокладка; 6 – упорный брусок
При размещении пакетов на платформе устанавливают стойки в соответствии с требованиями пунктов 1.4 и 1.5 настоящей главы. Стойки 2 должны иметь верхнее поперечное скрепление 1 многооборотными четырехзвенными стяжками, выполняемое после формирования прямоугольной части штабеля.
В каждом ярусе штабеля размещают пакеты одной длины и высоты. Пакеты размещают несколькими ярусами по высоте со смещением в продольном направлении одного пакета относительно другого на 100 мм с тем, чтобы бруски обвязок располагались вплотную друг к другу. Пакеты «шапки» каждого штабеля размещают на удлиненные прокладки 5 размерами 50х150х2800 мм, располагаемые в непосредственной близости от брусков обвязок. Количество удлиненных прокладок должно быть равно количеству обвязок пакета. На удлиненные прокладки, вплотную к стойкам укладывают продольные доски 3 сечением не менее 40х100 мм, которые закрепляют к удлиненным прокладкам и брускам обвязок верхних пакетов прямоугольной части штабеля гвоздями длиной не менее 100 мм по два гвоздя в каждое соединение. Длина досок 3 должна быть достаточной для того, чтобы ими были скреплены каждые две соседние удлиненные прокладки. Пакеты «шапки» закрепляют то поперечного смещения упорными брусками 6 размерами не менее 50х150х300 мм, которые укладывают на удлиненные прокладки и закрепляют к ним двумя гвоздями длиной не менее 100мм по два гвоздя в каждый брусок. Если в «шапке» размещены несколько пакетов по ширине вагона, соседние пакеты скрепляют между собой соединительными досками (горбылем) 4 сечением не менее 25х100 мм длиной, равной ширине «шапки», которые укладывают на бруски обвязок и прибивают к этим брускам гвоздями длиной не менее 70 мм
3.4.9.Пиломатериалы в пакетах, сформированных с использованием стальной ленты
3.4.9.1 Пакеты формируют в соответствии с требованиями ГОСТ 19041 и ГОСТ 21100. Размеры пакетов, размещаемых в прямоугольной части штабеля, не должны превышать величин, приведенных в таблице 8.
Таблица 8
-
Размещение пакетов
Размеры пакетов, мм
ширина
высота
В полувагоне:
внутри кузова
1300
1300
1200
600
в дверном проеме
1250
1250
1200
600
На платформе
1350
1350
1200
600
Размеры пакетов, размещаемых в «шапке» штабеля, не должны превышать:
-
при размещении пакетов в пределах очертания основного габарита погрузки: ширина – 1100 мм, высота – 575 мм;
-
при размещении пакетов в пределах очертания зонального габарита погрузки – величин приведенных в таблице 9.
Таблица 9
|
Вариант формирования «шапки» |
Число ярусов в «шапке» |
Номер яруса |
Поперечные размеры пакетов в «шапке», мм |
|||
|
|
|
|
В полувагоне |
На платформе |
||
|
Ширина |
Высота |
Ширина |
Высота |
|||
|
1 |
1 |
1 |
1000х2 |
1050 |
1000х2 |
1150 |
|
2 |
2 |
1 2 |
1250х2 1000х2 |
500 500 |
1350х2 1000х2 |
550 550 |
|
3 |
2 |
1 2 |
1250х2 1250 |
500 500 |
1350х2 1350 |
550 550 |
|
Примечание – Множитель «2» означает, что пакеты указанной ширины размещают в два ряда по ширине вагона |
||||||
3.4.9.2.Для формирования пакетов пиломатериалов должны применяться обвязки с пломбовым соединением по ГОСТ 21214 (тип 1) из стальной холоднокатанной низкоуглеродистой, нагартованной ленты нормальной точности изготовления по ГОСТ 3560 сечением не менее 0,5×20 мм с временным сопротивлением разрыву не менее 600 Н/мм2 (60 кгс/см2). Обвязка должна иметь одно пломбовое соединение. Допускается для изготовления обвязок использование ленты, имеющей аналогичные физические свойства, иного поперечного сечения при условии обеспечения несущей способности обвязки, включая пломбовое соединение, не менее 6000 Н (600 кгс). В этом случае грузоотправитель представляет перевозчику сертификат на упаковочную ленту и нормативные документы, подтверждающие прочность ленты и обвязки в целом. Реквизиты указанных документов и размеры сечения ленты должны быть занесены грузоотправителем в накладную на груз. Усилие натяжения обвязки на пакете должно составлять не менее 2000 н (200 кгс). Контроль усилия натяжения производится в соответствии с ГОСТ 19041 прибором ИН-400 либо по величине прогиба ленты под действием усилия 100 Н (10кгс), приложенного в середине бокового (вертикального) участка обвязки перпендикулярно боковой грани пакета. Прогиб ленты не должен превышать 0,1 высоты пакета.
В пакетах, сформированных без стыковки пиломатериала по длине, число обвязок пакета должно быть равно количеству разделительных прокладок по длине:
-
в пакетах длиной до 4 м включительно – 2 шт.;
-
в пакетах длиной более 4 до 5,5 м включительно –3 шт.;
-
в пакетах длиной более до 5,5 м – 4 шт.
Обвязки должны располагаться в плоскостях размещения прокладок либо в непосредственной близости от них.
Расстояния между прокладками по длине пакета должны быть равны.
В пакетах по ГОСТ 19041 крайние прокладки должны быть расположены на расстоянии: в пакетах из пиломатериала одной длины – от 300 до 900 мм от торцов пакета, в пакетах из пиломатериала различной дины – не более 300 мм от торцов наиболее коротких пиломатериалов.
В пакетах по ГОСТ 21100 крайние прокладки должны быть расположены следующим образом:
-
в пакетах из пиломатериала одной длины: длиной до 3,0 м включительно – на расстоянии от торцов пакета, равном 1/4 его длины; длиной от 3,0 до 5,5 м включительно – на расстоянии 1/5 его длины; в пакетах длиной более 5,5 м – на расстоянии 1/6 его длины;
-
в пакетах из деталей длиной менее 1 м, сформированных путем стыкования по длине, прокладки должны располагаться на расстоянии, равном 1/4 длины деталей.
3.4.9.3.Допускается применять укрытие пакетов от атмосферного воздействия и загрязнения в пути следования полиэтиленовой пленкой либо крафтбумагой с армирующей стекловолокнистой сеткой, выполняемое перед установкой обвязок. В пакетах, размещаемых в «шапке» штабелей со стороны торцов вагона, укрывающий материал должен быть закреплен двумя вертикальными планками сечением не менее 15х60 мм длиной, равной высоте пакета, расположенными на расстоянии 200 – 300 мм от боковых граней пакета. Каждая планка должна быть закреплена не менее чем тремя гвоздями длиной не менее 45 мм. Допускается закреплять укрывающий материал на торцах пакета металлическими скобками из проволоки диаметром 1 мм шириной не менее 10 мм, высотой не менее 19 мм в количестве не менее 20 штук на каждый торец. Скобки должны располагаться рядами: один ряд из 5–6 скобок – горизонтально на высоте, равной 2/3 высоты пакета, и три ряда по 5 скобок – вертикально на равных расстояниях друг от друга и от боковых граней пакета.
3..4.9..4.Каждая обвязка пакетов, размещаемых в «шапке» штабеля, должна быть закреплена на верхней плоскости пакета деревянной доской толщиной от 22 до 25 мм, шириной от 90 до 100 мм, длиной, превышающей ширину пакета на 100 мм располагаемой симметрично оси ленты с выступанием концов за боковые грани пакета на 50 мм. Доска должна быть закреплена к пакету не менее чем шестью гвоздями длиной не менее 50 мм, расположенными на равных расстояниях друг от друга в шахматном порядке.
3.4.9.5.Размещение и крепление пакетов в пределах очертания основного габарита погрузки производится в следующем порядке.
Ограждение штабелей пакетов в полувагонах и на платформах выполняется при помощи боковых стоек, в соответствии с требованиями пункта 1.5 настоящей главы.
Каждый штабель размещают (рисунки 47 и 48) на две подкладки 1, со стороны торцов вагона под крайние штабели во всех случаях укладывают по одной утолщенной подкладке 2.

Рисунок 47 – Размещение пакетов пиломатериалов в полувагоне
1 – подкладка; 2 – утолщенная подкладка; 3 – торцовый упор; 4 – прокладка; 5, 6 – удлиненная прокладка; 7 – прижимной брусок; 8 – упорная доска; 9– увязка «шапки»; 10 – верхнее скрепление стоек

Рисунок 48 – Размещение пакетов пиломатериалов на платформе
1 – подкладка; 2 – утолщенная подкладка; 3 – торцовый упор; 4 – прокладка; 5, 6 – удлиненная прокладка; 7 – прижимной брусок; 8 – упорная доска; 9– увязка «шапки»; 10 – скрепление стоек
Между ярусами штабеля размещают прокладки 4. Требования к подкладкам и прокладкам – в соответствии с пунктом 1.4 настоящей главы. Между утолщенными подкладками и торцовым порожком полувагона (торцовым бортом платформы) устанавливают упоры 3 из пиломатериала сечением не менее 75х150мм. Упоры устанавливают на расстоянии от 500 до 800 мм от боковых стен полувагона (бортов платформы). Каждый торцовый упор в полувагоне крепят к утолщенным подкладкам двумя гвоздями диаметром 5 мм и длиной не менее 150 мм, на платформе – прибивают к полу платформы двумя такими же гвоздями.
В прямоугольной части штабеля пакеты размещают несколькими ярусами по два пакета по ширине вагона в каждом ярусе. В каждом ярусе должны быть размещены пакеты одинаковой высоты.
Общая высота прямоугольной части штабеля не должна превышать: в полувагоне – 4100 мм; на платформе – 4000 мм.
Пакеты размещают вплотную к боковым стойкам. Зазоры между пакетами в середине вагона не должны превышать 300 мм. Зазор величиной до 150 мм должен быть плотно заполнен пиломатериалом длиной, равной длине пакета; зазор величиной от 150 до 300 мм – пакетами (пачками) таких же пиломатериалов соответствующих размеров.
Штабели должны размещаться вплотную друг к другу по длине вагона.
Каждая пара противоположных боковых стоек в полувагоне должна иметь верхнее поперечное крепление; на платформе стойки должны иметь верхнее и среднее поперечные скрепления. Скрепления стоек должны быть выполнены в соответствии с требованиями пункта 1.5 настоящей главы.
«Шапку» формируют (рисунок 49) из пакетов длиной не менее 4,0 м, имеющих размеры поперечного сечения, указанные в подпункте 3.4.9.1, сформированные из пиломатериала длиной, равной длине пакета. Общая длина пакетов «шапки» не должна превышать длину прямоугольной части штабеля.

Рисунок 49 – формирование «шапки» из пакетов пиломатериалов
5, 6 – удлиненная прокладка; 7 – прижимной брусок; 8 – упорная доска; 9– увязка «шапки»
Пакеты первого яруса «шапки» размещают на удлиненные прокладки 5, пакеты второго яруса – на удлиненные прокладки 6. Размеры прокладок и расположение зарубок должны соответствовать требованиям пункта. 2.1.3 настоящей главы.
На пакеты второго яруса «шапки» в одной вертикальной плоскости с удлиненными прокладками размещают прижимные бруски 7 сечением не менее 50х150 мм. Концы прижимных брусков должны выступать с обеих сторон пакета на 75 мм и иметь зарубки, аналогичные зарубкам на удлиненных прокладках. Каждый брусок прибивают по концам к пакету двумя гвоздями длиной от 100 до 125 мм.
«Шапка» должна быть расположена симметрично относительно продольной оси вагона.
Пакеты пиломатериалов закрепляют с каждой стороны тремя увязками 9 из проволоки диаметром 6 мм в две нити, закрепляемыми за удлиненные прокладки 5 и 6 и прижимной брусок 7. Нити увязок помещают в зарубки каждой прокладки и бруска и туго скручивают между смежными по высоте прокладками и прокладкой и бруском.
На удлиненные прокладки 5 с обеих сторон пакетов укладывают упорные доски 8 толщиной не менее 50 мм и такой ширины, чтобы они одной стороной упирались в боковые стойки, а другой – в пакеты. Длина распорных досок должна быть равна длине пакета. На удлиненные прокладки 6 вплотную к пакету укладывают аналогичные упорные доски шириной от 100 до 150 мм.
Упорные доски крепят к каждой прокладке с обеих сторон двумя гвоздями длиной от 100 до 120 мм.
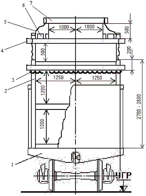
3.4.9. 6 .Размещение и крепление пакетов в пределах очертания зонального габарита погрузки производится в следующем порядке. Для ограждения и крепления штабелей пакетов пиломатериалов в полувагонах и на платформах устанавливают восемь пар стоек в соответствии с требованиями пункта 1.5 настоящей главы.
Размещение пакетов в пределах прямоугольной части штабеля аналогично их размещению по подпункту 3.3.3.5. При этом расстояние от верха прямоугольной части штабеля до верхнего обреза стоек должно быть не менее 200 мм.
Пакеты «шапки» размещают на удлиненные прокладки длиной 3000 мм, толщиной от 50 до 100 мм, шириной 150 мм. Прокладки изготавливают в соответствии с требованиями пункта 1.5 настоящей главы.
Формирование «шапки» в зависимости от размеров поперечного сечения пакетов (таблица 9) допускается производить способами, приведенными на рисунках 50 – 55.

Рисунок 50 – формирование «шапки» по варианту 1 в полувагоне
1 – полувагон; 2 – утолщенная подкладка; 3 – торцовый упор; 4 – пакет прямоугольной части штабеля; 5 – стойка; 6 – скрепление стоек; 7 – удлиненная прокладка; 8 – увязка пакет «шапки»; 9 – распорная доска; 10 – упорный брусок

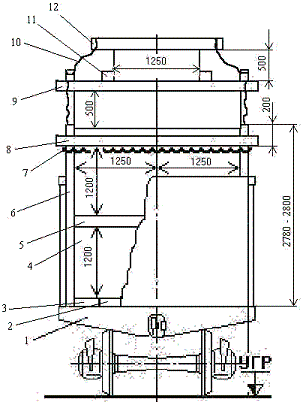
Рисунок 51 – формирование «шапки» по варианту 1 на платформе
1 – платформа; 2 – пакет прямоугольной части штабеля; 3 – стойка; 4 – среднее скрепление стоек; 5 – верхнее скрепление стоек; 6 – удлиненная прокладка; 7 – распорная доска; 8 – упорный брусок

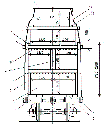
Рисунок 52 – формирование «шапки» по варианту 2 в полувагоне
1 – полувагон; 2 – стойка; 3 – скрепление стоек; 4– удлиненная прокладка; 5 – увязка; 6 – распорная доска; 7 – прижимной брусок

Рисунок 53 – формирование «шапки» по варианту 2 на платформе
1 – платформа; 2 – пакет прямоугольной части штабеля; 3 – стойка; 4– среднее скрепление стоек; 5 – верхнее скрепление стоек; 6 – прижимной брусок; 7 – увязка;8 – упорная доска; 9 – распорная доска; 10 – межпакетное заполнение

Рисунок 54 – формирование «шапки» по варианту 3 в полувагоне
1 – полувагон; 2 – торцовый упор; 3 – подкладка;; 4– пакет прямоугольной части штабеля; 5 – прокладка; 6 – стойка; 7 – скрепление стоек; 8 – удлиненная прокладка; 9 – промежуточная удлиненная прокладка; 10 – увязка; 11 – упорная доска; 12 –прижимной брусок

Рисунок 55 – формирование «шапки» по варианту 3 на платформе
1 – платформа; 2 – подкладка; 3 – торцовый упор; 4– пакет прямоугольной части штабеля; 5 – прокладка; 6 – среднее скрепление стоек; 7 – межпакетное заполнение; 8 – верхнее скрепление стоек; 9 – удлиненная прокладка; 10 – распорная доска; 11 – промежуточная удлиненная прокладка; 12 – увязка; 13 – упорная доска; 14 – прижимной брусок
В «шапке» размещают от двух до четырех пакетов. Продольные оси всех пакетов «шапки» и вагона должны совпадать.
По варианту 1 в «шапке» размещают два пакета по ширине вагона.
По варианту 2 пакеты в «шапке» размещают двумя ярусами по высоте по два пакета в каждом ярусе.
По варианту 3 пакеты в «шапке» размещают двумя ярусами по высоте: в первом ярусе два пакета, во втором ярусе – один пакет.
Порядок формирования и скрепления «шапки» аналогичен порядку по подпункту 3.4.9.5., при этом длина удлиненных прокладок между ярусами «шапки» должна составлять: в полувагонах – 2650-2700 мм, на платформах – 2850-2900 м. Общая высота «шапки», измеренная от нижней поверхности нижних удлиненных прокладок до верха прижимного бруска, должна составлять: в полувагонах – не более 1200 мм, на платформах – не более 1300 мм.
При формировании «шапки» по варианту 1 (рисунки 50, 51) на удлиненные прокладки с обеих ее сторон укладывают распорные доски толщиной не менее 50 мм таким образом, чтобы они одной стороной упирались в боковые стойки. Между пакетом и распорной доской вставляют упорные бруски из обрезков досок такой же толщины.
Нижние пакеты «шапки» по вариантам 2 и 3 (рисунки 52–55),должны плотно прилегать с обеих сторон к боковым стойкам. В случае образования зазоров в них должны быть вставлены распорные доски соответствующей ширины толщиной 50 мм или доски, установленные ребром на удлиненные прокладки.
Упорные доски для «шапки» по вариантам 2 и 3 размещают вплотную к верхнему пакету на промежуточных прокладках.
Распорные и упорные доски и бруски закрепляют к каждой удлиненной прокладке двумя гвоздями длиной от 100 до 120 мм.