4.1 Основные требования пакетирования и размещения
4.1.1 Листовой металл предъявляется к перевозке:
— в пачках толщиной до 4,0 мм включительно;
— в пачках по согласованию с грузополучателем толщиной более 4 мм;
— в рулонах или связках рулонов (стопой) шириной до 400 мм включительно (лента); — в рулонах шириной более 400 мм.
В пачке допускается укладка листов только одинаковых размеров.
4.1.2 Пачки обвязывают в продольном и поперечном направлении металлическими лентами равного сечения или проволокой диаметром 6 мм не менее чем в две нити. Для обвязки применяют металлическую ленту по ГОСТ 3560-73 «Лента стальная упаковочная» шириной не менее 30 мм и толщиной: мягкую (М) — 1,5 — 2,0 мм, нагартованную (Н) — 0,8 — 2,0 мм. Количество обвязок должно быть не менее чем указано в таблице 1.
Таблица 1 -Количество и расположение обвязок пачки
|
Длина или ширина листа (полосы), мм |
Число обвязок |
|||
|
|
непромасленный горячекатанный лист (полоса) |
промасленный (травленный) или холоднокатанный |
||
|
продольных |
поперечных |
продольных |
поперечных |
|
|
До 800 |
1 |
1 |
1 |
1 |
|
Св. 800 до 2000 вкл. |
2 |
2 |
2 |
2 |
|
» 2000 » 4000 » |
2 |
3 |
3 |
4 |
|
» 4000 » 6000 » |
2 |
4 |
3 |
6 |
|
Св. 6000 |
3 |
5 |
4 |
8 |
В местах огибания обвязками кромок пачек листов под обвязки укладывают прокладки из листовой стали толщиной не менее 0,8 мм. Расстояние обвязки от края пачки должно быть от 300 до 500 мм включительно. Допускается прокладки не устанавливать при упаковке листов в пачки пакетовязальными машинами, а также пачек, упакованных в короба.
Рулоны горячей смотки ленты толщиной 4 мм при плотном прилегании наружного конца могут приниматься к перевозке без обвязок.
4.1.3 При перевозках листового металла толщиной до 10 мм, каждая пачка может быть уложена на две подкладки из досок или горбылей сечением не менее 35х75 мм и обвязана металлической лентой. Подкладки располагают вдоль или поперек пачек.
При механизированной упаковке допускается обвязка пачек горячекатанных нетравленных листов только поперечными обвязками в количестве, равном сумме продольных и поперечных обвязок в соответствии с ГОСТ 7566-81.
4.1.4. Для обеспечения механизации погрузочно-разгрузочных работ при размещении пачек листового металла вдоль и поперек полувагона допускается между пачками, а также между пачками и боковыми стенками полувагонов, свободное расстояние до 80 мм, если иное не указано в нижеследующем описании способов размещения металла.
Под «размещением пачки вдоль полувагона » следует понимать размещение пачки длинной стороной вдоль полувагона.
Под «размещением пачки поперек полувагона» — размещение пачки длинной стороной поперек полувагона.
При креплении пачек проволочными растяжками (обвязками) должна применяться проволока диаметром не менее 6 мм.
Пачки размещают в верхнем ярусе только в том случае, если полностью используется площадь полувагона нижерасположенным ярусом с учетом размеров пачек и грузоподъемность полувагона позволяет дальнейшую загрузку. Если количество подлежащих размещению пачек в верхнем ярусе меньше, чем в нижерасположенном ярусе, то пачки металла верхнего яруса размещают двумя группами вплотную к торцовым дверям полувагона. Группа – это несколько пачек расположенных вплотную друг к другу. Пачки верхнего яруса закрепляют к пачкам расположенного под ним яруса в соответствии с требованиями таблицы 1, если иное не предусмотрено конкретным способом. При общей массе пачек, расположенных в верхнем ярусе, менее 5,0 т, крепление их к пачкам нижнего яруса не обязательно.
4.1.5. Допускается погрузка пачек разных размеров и разной массы в одном полувагоне для одного грузополучателя.
При погрузке листового металла отдельным грузополучателям для механизированной выгрузки грузоотправитель по согласованию с грузополучателем определяет необходимость применения подкладок, прокладок, а также массу отдельных мест.
4.1.6. При погрузке на платформы пачки листового металла укладывают вплотную друг к другу равномерно по площади пола платформы. Ограждение и наращивание торцовых бортов платформы должно быть в соответствии с 1.6 настоящей главы. Размещение пачек в последующие ярусы должно отвечать требованиям, указанным в 4.3 настоящей главы.
4.2. Размещение и крепление листового металла в пачках в полувагонах
4.2.1. Пачки шириной от 500 до 900 мм включительно и длиной от 500 до 1000 мм включительно промасленного и непромасленного металла на салазках и без них размещают в полувагонах, начиная от торцовых дверей к середине. В продольном направлении пачки размещают вплотную. При этом если в середине полувагона возникает свободное пространство более 300 мм, то пачки закрепляют распорной клеткой (рисунок 26) или обвязками (рисунок 27).

Рисунок 26
1 — пачки листового металла; 2 — упорный брусок распорной клетки;
3 — распорный брусок распорной клетки

Рисунок 27
1 — обвязка; 2 — брусок; 3 — пачки листового металла
При использовании обвязок под проволокой пропускают два бруска 2 сечением не менее 100х100 мм и длиной от 300 до 350 мм включительно, проволоку закрепляют к брускам двумя гвоздями длиной от 75 до 80 мм включительно (рисунок 27). Люковые закидки полувагонов увязывают в соответствии с 1.5 настоящей главы.
При установке распорной клетки (рисунок 28) сечение продольных и поперечных брусков должно быть не менее 100х100 мм, которые скрепляют четырьмя или шестью скобами, гвоздями или планками.

Рисунок 28
1 — упорные бруски; 2 — распорные бруски
4.2.2. Пачки шириной от 600 до 900 мм включительно и длиной от 1200 до 2000 мм включительно промасленного и непромасленного листового металла на салазках и без них размещают: пачки шириной от 600 до 690 мм включительно — в четыре ряда; шириной от 700 до 900 мм включительно — в три ряда по ширине полувагона. По длине полувагона пачки размещают следующим образом: при длине пачек от 1200 до1300 мм включительно — в девять рядов; при длине 1400 мм — в восемь рядов; при длине от 1500 до 1600 мм включительно — в семь рядов; при длине от 1700 до 2000 мм включительно — в пять-шесть рядов.
Если количество рядов менее указанного, то в свободном пространстве устанавливают одну распорную клетку — при четном количестве рядов и две при нечетном.
При размещении пачек промасленного металла во втором ярусе их закрепляют к пачкам первого яруса в соответствии с требованиями таблицы 1 настоящей главы. Если в середине вагона между пачками образуется свободное пространство более 300 мм, то их следует закреплять распорной клеткой (рисунки 26, 28).
Допускается одновременное расположение пачек вдоль и поперек полувагона.
При размещении пачек на салазках, расположенных поперек пачки, на пол полувагона укладывают продольные подкладки 2 сечением не менее 25х100 мм (рисунок 29).

Рисунок 29
1 — салазки; 2 – продольные подкладки
Люковые закидки полувагонов увязывают в соответствии с 1.5 настоящей главы.
4.2.3. Пачки шириной от 910 до 2000 мм включительно и длиной от 1500 до 2000 мм включительно промасленного и непромасленного металла без салазок размещают поперек полувагона (рисунок 30), начиная от торцовых дверей со смещением относительно друг друга. По хребтовой балке укладывают подкладки 2 сечением не менее 80х100 мм или горбыля высотой не менее 80 мм, а на расстоянии от 200 до 250 мм включительно от боковых стен подкладки 1 сечением не менее 40х100 мм или горбыль по высоте не менее 40 мм. При неполном заполнении полувагона в середине, между пачками, устанавливают распорные бруски 3 сечением не менее 80х100 мм и длиной по месту. Распорные бруски закрепляют к подкладкам 10-ю гвоздями 4 длиной не менее 125 мм.

Рисунок 30
1, 2 — подкладка; 3 — распорный брусок; 4 — гвоздь
Пачки длиной от 1500 до 2800 мм включительно на салазках, размещают поперек полувагона без продольных подкладок аналогично пачкам без салазок.
При погрузке пачек в два яруса, второй ярус закрепляют к пачкам первого яруса в соответствии с требованиями таблицы 1 настоящей главы.
Люковые закидки полувагонов увязывают в соответствии с 1.5 настоящей главы.
4.2.4. Пачки размером шириной 1000 мм и длиной до 2000 мм включительно промасленного металла на салазках и без салазок размещают в полувагоне в три и более ярусов (рисунок 31) по высоте, двумя продольными рядами по ширине от торцов полувагона. В середине полувагона размещают три штабеля пачек поперек вагона. Под последний верхний ярус укладывают поперечные прокладки 3 длиной, равной ширине полувагона, к которым закрепляют каждый четырьмя гвоздями длиной 100 мм распорные бруски 4 сечением не менее 40х100 мм. Длина брусков выбирается по месту.

Рисунок 31
1 — пачка промасленного металла; 2 — салазки; 3 – поперечная прокладка;
4 – распорный брусок
Пачки шириной 1000 мм и длиной 2000 мм непромасленного листового металла на салазках и без салазок размещают в полувагоне двумя продольными рядами вдоль боковых стен (рисунок 32).

Рисунок 32
1 — пачки листового металла; 2 — салазки
Люковые закидки полувагонов увязывают в соответствии с 1.5 настоящей главы.
4.2.5. Пачки размерами шириной от 1000 до 1350 мм включительно и длиной от 2700 до 6000 мм включительно промасленного и непромасленного листового металла без салазок размещают несколькими группами по длине полувагона и тремя продольными рядами по ширине: в середине один ряд пачек укладывают горизонтально, а два других — вдоль боковых стен наклонно (рисунок 33). Под пачки, размещаемые наклонно, на расстоянии от 100 до 150 мм включительно от боковых стен полувагона устанавливают продольные подкладки 1 из досок сечением не менее 40х100 мм или из горбыля. Подкладки могут быть составными по длине.

Рисунок 33
1 – продольная подкладка; 2 — пачки листового металла
При этом пачки длиной от 2710 до 2950 мм включительно промасленного и непромасленного листового металла без салазок размещают по длине полувагона четырьмя группами (рисунок 33), длиной от 3600 до 3900 мм включительно – тремя группами, длиной от 3910 до 6000 мм включительно – двумя группами. Каждая группа состоит одной пачки, размещенной горизонтально и двух других – вдоль боковых стен наклонно (рисунок 33). При размещении пачек тремя группами крепление их по длине полувагона осуществляется двумя распорными клетками, двумя или четырьмя группами — одной распорной клеткой.
Пачки могут располагаться по ширине полувагона двумя наклонными продольными рядами, уложенными вплотную к боковым стенам (рисунок 34). Если расстояние между рядами в середине вагона больше 200 мм, то под пачки на расстоянии от 200 до 250 мм включительно по обе стороны от хребтовой балки полувагона укладывают продольные подкладки 1 сечением не менее 100х100 мм или горбыль той же высоты для промасленного металла и сечением 40х100 мм (горбыль высотой 40 мм) для непромасленного. Между подкладками размещают распорные бруски 3 сечением аналогичным подкладкам. Подкладки и бруски скрепляют между собой строительными скобами.

Рисунок 34
1 – продольная подкладка; 2 — пачки листового металла; 3- распорный брусок
Пачки длиной от 2710 до 6000 мм включительно на салазках, размещенных поперек пачек, размещают в вагоне двумя рядами по ширине с установкой подкладок (рисунок 34). При размещении таких пачек промасленного металла в несколько ярусов, их увязывают в двух местах проволокой диаметром 6 мм в две нити.
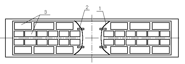
4.2.6. Пачки шириной от 1000 до 1350 мм включительно и длиной от 6001 до 8000 мм включительно непромасленного листового металла, без салазок, размещают в два ряда по ширине полувагона вплотную к боковым стенам и внахлест по длине полувагона (рисунок 35).

Рисунок 35
1 — торцовый щит; 2 — листовой металл в пачках; 3 – продольная подкладка
При погрузке пачек внахлест торцовые двери ограждают торцовыми щитами 1.
4.2.7. Пачки шириной от 1360 до 1700 мм включительно и длиной от 1500 до 8000 мм включительно размещают несколькими группами по длине полувагона и тремя продольными рядами по ширине: первый ряд, в середине полувагона — горизонтально; второй — горизонтально со смещением вплотную к одной из боковых стен; третий, вдоль противоположной стены — наклонно (рисунок 36). Высота пачек, размещенных в середине полувагона, не должна превышать 250 мм.

Рисунок 36
1 — пачки, размещенные горизонтально; 2 — пачки, размещенные наклонно
При этом пачки длиной от 1500 до 2700 мм включительно без салазок размещают по длине полувагона в количестве от 4 до 7 групп включительно (рисунок 36). Люковые закидки полувагонов должны быть увязаны соответствии с 1.5 настоящей главы. При наличии свободного пространства вдоль полувагона между пачками более 300 мм устанавливают одну или две распорные клетки.
Пачки длиной от 2710 до 5950 мм включительно без салазок размещают вдоль полувагона четырьмя, тремя или двумя группами (рисунок 37). Если возникает по длине полувагона между группами свободное расстояние более 400 мм, то в середине полувагона размещают одну или две распорные клетки.

Рисунок 37
1 — пачки, размещенные горизонтально; 2 — пачки, размещенные наклонно;
3 — распорная клетка
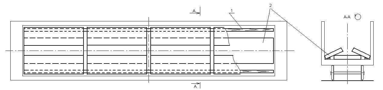
Пачки длиной от 5960 до 8000 мм включительно без салазок поперек полувагона размещают по одной из схем, представленных на рисунках 34, 35, а вдоль полувагона — внахлест.
Если по технологическим условиям выполнить размещение пачек поперек полувагона по указанным схемам невозможно, то пачки размещают посередине полувагона двумя штабелями внахлест (рисунок 38). При этом под верхние ярусы пачек штабелей и в месте нахлеста укладывают поперечные прокладки 4 сечением 25х100 мм и длиной, равной ширине полувагона. К этим прокладкам сверху и снизу по месту между грузом и боковыми стенками закрепляют распорные бруски 2 сечением 50х100 мм.

Рисунок 38
1 — торцовый щит; 2 – распорный брусок; 3 – пачка металла; 4 – поперечная прокладка
Пачки длиной более 5960 мм могут быть погружены без «нахлеста», если позволяет внутренняя длина полувагона.
4.2.8. Пачки размерами шириной от 1710 до 2700 мм включительно и длиной от 4000 до 8000 мм включительно размещают по ширине полувагона двумя продольными рядами: один ряд пачек располагают к одной из стен горизонтально, второй — наклонно к противоположной стене (рисунок 39). Под пачки, размещенные наклонно, на расстоянии от 150 до 200 мм включительно от их края на пачки, размещенные горизонтально, укладывают вдоль полувагона бруски 4 сечением не менее 100х100 мм или горбыль высотой 100 мм.

Рисунок 39
1 — пачки, размещенные наклонно; 2 – распорная клетка;
3 — пачки, размещенные горизонтально; 4 –брусок
Пачки длиной от 4000 до 5950 мм включительно размещают вдоль полувагона двумя или тремя группами (рисунок 39). При наличии свободного пространства более 300 мм в середине полувагона между группами устанавливают одну или две распорные клетки (рисунок 28).
Пачки длиной от 5960 до 8000 мм включительно размещают в соответствии со схемой на рисунке 38.
Продолжение инструкции: