4.3 Размещение и крепление листового металла толщиной от 6 до 160 мм включительно в полувагонах
4.3.1. Непромасленный металл шириной от 1000 до 2700 мм включительно и длиной от 2800 до 11700 мм включительно размещают в полувагонах согласно схемам на рисунках, приведенных в таблице 2.
Таблица 2
-
Размеры листов
Номера рисунков
Ширина, мм
Длина, мм
от 1000 до 1300 вкл.
от 2800 до 3000 вкл.
» 3010 » 3900 »
» 3910 » 5950 »
» 5960 » 7000 »
» 7100 » 11700 »
40, 28
40, 28
41, 28
42
42
от 1310 до 1400 вкл.
от 3000 до 3600 вкл.
» 3610 » 3900 »
» 3910 » 5950 »
» 5960 » 7000 »
» 7100 » 8500 »
» 8510 » 11700 »
43, 44
45, 28
46
47, 48
49
50
от 1410 до 1700 вкл.
от 3000 до 3900 вкл.
» 3910 » 5950 »
» 5960 » 11700 »
51
51а
51б
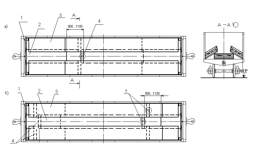
от 1710 до 2700 вкл.
от 3000 до 11700 вкл.
52, 52а, 52б, 38
4.3.2. Листы шириной от 1000 до 1300 мм включительно и длиной от 2800 до 11700 мм включительно размещают в полувагоне симметрично относительно продольной и поперечной плоскостей симметрии несколькими группами по длине. Каждая такая группа состоит из трех штабелей: одного горизонтального высотой от 100 до 200 мм включительно, и двух других, расположенных вдоль боковых стен полувагона наклонно (рисунок 40).

Рисунок 40
1 — листовой металл; 2 — распорная клетка
При этом листы длиной от 2800до 3000 мм включительно размещают четырьмя группами по длине полувагона (рисунок 40). При наличии в середине полувагона свободного пространства более 300 мм между группами устанавливают распорную клетку (рисунок 28).
Листы длиной от 3010 до 3900 мм включительно размещают вдоль вагона тремя группами. При наличии в середине полувагона свободного пространства более 300 мм между группами устанавливают две распорные клетки (рисунок 28).
Листы длиной от 3910 до 5950 мм включительно размещают двумя группами вдоль полувагона (рисунок 41). При наличии в середине полувагона свободного пространства более 300 мм между группами устанавливают распорную клетку (рисунок 28).

Рисунок 41
1 — листовой металл; 2 — распорная клетка
Листы длиной от 5960 до 11700 мм включительно размещают вдоль полувагона симметрично относительно продольной плоскости симметрии полувагона двумя штабелями внахлест (рисунок 42), а затем вдоль боковых стен двумя штабелями наклонно также внахлест.

Рисунок 42
1 — торцовый щит; 2, 3 — листы, размещенные соответственно горизонтально, внахлестку и наклонно; 4,5 — прокладки
4.3.3 При размещении листов толщиной от 21 до 160 мм включительно и длиной от 7100 до 8500 мм включительно под свободные концы верхних ярусов каждого из штабелей на расстоянии от 900 до 1100 мм включительно от края размещают деревянные прокладки 4 толщиной от 40 до 80 мм включительно, длиной, равной ширине листов (рисунок 42 а).
При размещении листов аналогичной толщины и длиной от 8510 до 11700 мм включительно под каждый верхний ярус каждого из штабелей размещают со стороны торцовой двери на расстоянии от 500 до 700 мм включительно от нее деревянные прокладки 4 высотой от 40 до 80 мм включительно, а с противоположной стороны – деревянные прокладки 5 высотой от 80 до100 мм включительно (рисунок 42 б).
4.3.4. Размещение листов шириной от 1310 до 1400 мм включительно в полувагоне:
— длиной от 3000 до 11700 мм включительно двумя рядами по ширине и в несколько штабелей по длине (рисунок 43).

Рисунок 43
1 — листы металла
— длиной от 3000 до 3600 мм включительно размещают по длине полувагона вдоль каждой боковой стены четырьмя штабелями: два штабеля посередине размещают горизонтально встык, а два — наклонно к торцовым дверям (рисунок 44). Торцовые двери ограждают щитами 1.

Рисунок 44
1 – торцовый щит; 2, 3 – соответственно горизонтальный и наклонный штабель
— длиной от 3610 до 3900 мм включительно размещают вдоль полувагона тремя штабелями (рисунок 45). При наличии свободного пространства более 300 мм между штабелями устанавливают две распорные клетки (рисунок 28).

Рисунок 45
1 – штабель
— длиной от 3910 до 5950 мм включительно размещают вдоль полувагона тремя штабелями: один из них в середине полувагона размещают горизонтально, два другие — наклонно к торцам вагона (рисунок 46). Торцовые двери ограждают щитами 1.

Рисунок 46
1 – торцовый щит; 2, 3 – соответственно горизонтальный и наклонный штабель
— длиной от 5960 до 7000 мм включительно размещают внахлест штабелями (рисунок 47) или внахлест через несколько листов (рисунок 48).

Рисунок 47
1 — торцовый щит; 2, 3 — соответственно горизонтальный и наклонный штабель

Рисунок 48
1 — торцовый щит; 2 — листы, размещенные горизонтально;
3 — листы, размещенные наклонно
При погрузке листов длиной от 7010 до 8500 мм включительно и толщиной от 21 до 160 мм включительно под свободные концы наклонных штабелей на расстоянии от 900 до 1100 мм укладывают прокладки 4 толщиной от 40 до 80 мм включительно и длиной, равной ширине листа (рисунок 49). Торцовые двери ограждают щитами 1.

Рисунок 49
1 — торцовый щит; 2, 3 – соответственно горизонтальный и наклонный штабель;
4 — прокладка
При погрузке листов длиной от 8510 до 11700 мм включительно и толщиной от 21 до 160 мм включительно под каждый наклонный штабель укладывают со стороны торцовой двери на расстоянии от 500 до 700 мм включительно от нее подкладку 5 высотой от 80 до 100 мм включительно, а с противоположной стороны – прокладку 4 высотой от 40 до 80 мм включительно на расстоянии от 900 до 1100 мм включительно от торцов штабеля (рисунок 50).

Рисунок 50
1 — торцовый щит; 2, 3 – соответственно горизонтальный и наклонный штабель;
4 — прокладка; 5 — подкладка
4.3.5 Листы шириной от 1410 до 1700 мм включительно и длиной от 3000 до 11700 мм включительно размещают в полувагоне по ширине полувагона вдоль одной стены горизонтально, вдоль другой — наклонно (рисунок 51).

Рисунок 51
1, 2 – соответственно горизонтальный и наклонный штабель;
3 — распорная клетка; 4 — прокладка
При этом листы длиной от 3000 до 3900 мм включительно размещают тремя штабелями горизонтально вдоль одной стены, начиная от торцов равномерно по длине вагона, потом вдоль второй стены укладывают на них наклонно три штабеля. При наличии свободного пространства вдоль полувагона более 300 мм между штабелями устанавливают две распорные клетки.
Листы длиной от 3910 до 5950 мм включительно размещают горизонтально двумя штабелями вдоль одной стены полывагона, затем наклонно двумя штабелями вдоль противоположной стены (рисунок 51а). Между штабелями в середине полувагона устанавливают распорную клетку (рисунок 28).
Листы длиной от 5960 до 11700 мм включительно размещают вдоль одной стены полувагона двумя горизонтальными штабелями внахлест (рисунок 51 б), а вдоль противоположной стены двумя наклонными штабелями внахлест.
Листы толщиной от 10 до 20 мм включительно могут размещаться внахлест через несколько листов.
4.3.6 Листы шириной от 1710 до 2700 мм включительно и длиной от 3000 до 11700 мм включительно размещают по ширине полувагона вдоль одной стены горизонтально, вдоль другой — наклонно (рисунок 52). Под наклонно размещенные штабели на расстоянии от 200 до 350 мм включительно от их края укладывают прокладки 4 сечением 100х100 мм.

Рисунок 52
1, 3 — соответственно наклонный и горизонтальный штабель; 2 — распорная клетка;
4 –прокладка
При этом листы длиной от 3000 до 3900 мм включительно размещают вдоль полувагона тремя группами (рисунок 52а), длиной от 3910 до 5950 мм включительно — двумя.
Листы длиной от 5960 до 8500 мм включительно размещают вдоль полувагона внахлест (рисунок 52б).
При размещении в полувагонах листового металла длиной от 5960 до 11700 мм включительно на расстоянии от 3700 до 4300 мм включительно от каждой торцовой двери размещают по одной подкладке сечением не менее 40х100 мм и длиной, равной ширине полувагона. Лист размещается по ширине полувагона одним штабелем внахлестку. Верхняя часть листов толщиной от 100 до 120 мм включительно в трех местах по длине полувагона от поперечного смещения закрепляют аналогично схеме (рисунок 38).
4.4 Размещение и крепление листового металла толщиной от 6 до 160 мм включительно на платформах
4.4.1. Листы длиной от 11800 до 13000 мм включительно, шириной от 2500 до 2700 мм включительно, толщиной 30 мм и более размещают одним штабелем вдоль платформы симметрично относительно продольной и поперечной плоскостей симметрии платформы (рисунок 53).

Рисунок 53
1 — торцовая стойка; 2 – распорный брусок; 3 – упорный брусок;
4 — боковая стойка; 5 — скрепление стоек; 6 — распорка
Допускается совместная укладка листов разных размеров в одном штабеле при условии размещения листов меньших размеров в средней его части. Отдельные листы не должны выходить за пределы штабеля.
По торцам штабеля вплотную к нему укладывают по одному упорному бруску 3 шириной не менее 200 мм, высотой, равной высоте штабеля груза, и длиной, равной ширине платформы. Каждый упорный брусок 3 закрепляют к полу платформы четырьмя гвоздями длиной 200 мм (по два гвоздя с каждого конца бруска). Бруски 3 в местах забивания гвоздей, должны иметь высоту не более 140 мм.
Враспор между упорными брусками 3 и торцовыми бортами платформы напротив торцовых стоек устанавливают по два распорных бруска 2 сечением не менее 150х200 мм. Каждый из них закрепляют к полу платформы четырьмя гвоздями длиной 200 мм.
В торцовые стоечные скобы устанавливают короткие деревянные стойки 1. Во вторые, третьи и четвертые от торцов боковые стоечные скобы устанавливают стойки 4, которые попарно скрепляют проволокой диаметром 6 мм в четыре нити.
4.4.2 Листы длиной от 13010 до 14200 мм включительно, шириной до 2700 мм включительно и толщиной от 10 до 30 мм включительно размещают на платформе с откинутыми (при необходимости) на кронштейны торцовыми бортами (рисунок 54). Листы укладывают на две поперечные подкладки 1 сечением не менее 60х100 мм и длиной, равной ширине пола платформы. Подкладки располагают над шкворневыми балками и закрепляют каждую к полу четырьмя гвоздями длиной от 100 до 120 мм включительно.

Рисунок 54
1 – поперечная подкладка; 2 – продольный брусок; 3 – поперечный брусок; 4 — увязка;
5 — стойка; 6 — скрепление стоек
Поверх листов на расстоянии 300 мм от его боковых кромок вдоль платформы укладывают восемь продольных деревянных брусков 2 (по четыре с каждой боковой стороны штабеля) высотой 50 мм, шириной от 100 до 150 мм включительно и длиной от 1000 до 1500 мм включительно. На каждую пару продольных брусков укладывают по одному поперечному бруску 3 сечением не менее 135х150 мм и длиной 3150 мм, размещаемому над третьими и четвертыми от торца платформы парами боковых стоечных скоб. На поперечных брусках 3 на расстоянии от 70 до 100 мм включительно от каждого конца делают зарубки глубиной от 10 до 15 мм включительно для предотвращения соскальзывания проволочных увязок 4.
Каждый поперечный брусок 3 с обеих сторон платформы закрепляют за боковые стоечные скобы увязками 4 из проволоки диаметром 6 мм в четыре нити. До закручивания проволочных увязок сверху на листы рядом с каждым бруском крепления для уплотнения штабеля листов поочередно устанавливают груз весом от 3 до 5 т включительно, снимаемый после натяжения увязок. В местах закрутки увязок вставляют деревянные колышки, закрепляемые от выпадения.
Допускается взамен поперечных брусков использовать круглые лесоматериалы диаметром не менее 180 мм тех же пород, у которых опорную сторону стесывают на плоскость.
В первые и вторые от торцов стоечные скобы от торцов платформы устанавливают стойки 5. Каждую пару противоположных боковых стоек скрепляют попарно проволокой диаметром 6 мм в четыре нити. Против вторых, третьих и четвертых боковых стоечных скоб между бортами платформы и грузом плотно пригоняют распорки шириной не менее 200 мм и высотой, равной высоте погруженного штабеля листов. Каждую распорку закрепляют к полу платформы двумя гвоздями.